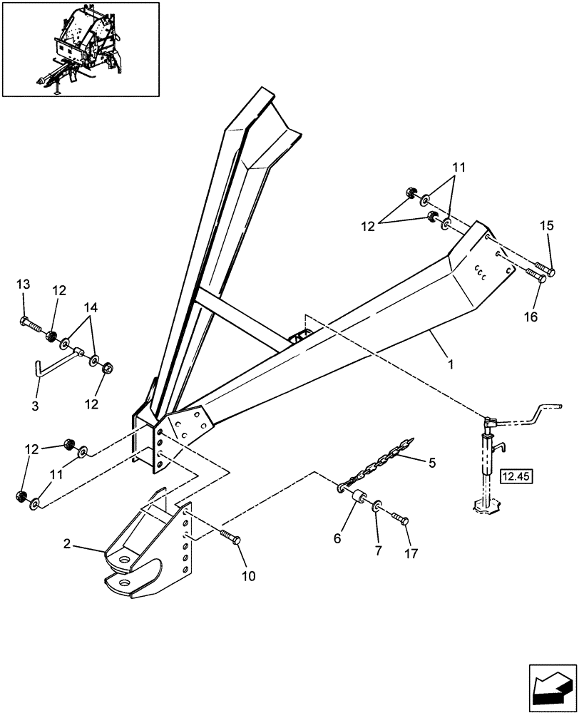
Запчасти Case IH RBX443 (12.55) - TONGUE & HITCH (12) - MAIN FRAME

Схема запчастей Case IH RBX443 - (12.55) - TONGUE & HITCH (12) - MAIN FRAME
12
5
1
2
3
12.45
16
12
14
6
10
12
17
13
7
11
11
15
12
FIT
1:1
100%

Артикул

Название

Примечание

Количество

1

86635390

SUPPORT ASSY.

Hitch

1шт.

2

86635209

HITCH

1шт.

3

9609916

ARM

1шт.

5

850116

CHAIN

Safety

1шт.

6

86607695

SPACER,17.48mm ID x 28.6mm OD x 20.6mm L

1шт.

7

636422

WASHER,16.66mm ID x 69.85mm OD

1шт.

10

614-16040

BOLT,Hex, M16 x 2 x 40mm, Cl 8.8, Full Thd

2шт.

11

130358

WASHER,16.28mm ID x 38.35mm OD x 4.11mm Thk

Hardened, 5/8"

22шт.

12

832-46416

NUT,M16 x 2, Cl 8

14шт.

13

614-16070

BOLT,Hex, M16 x 2 x 70mm, Cl 8.8, Full Thd

1шт.

14

27697

WASHER,16.66mm ID x 27mm OD x 1.52mm Thk

2шт.

15

814-16120

BOLT,Hex, M16 x 2 x 120mm, Cl 8.8

4шт.

16

814-16080

BOLT,Hex, M16 x 2 x 80mm, Cl 8.8

4шт.

17

814-16060

BOLT,Hex, M16 x 2 x 60mm, Cl 8.8

1шт.

Выбрано товаров: 14