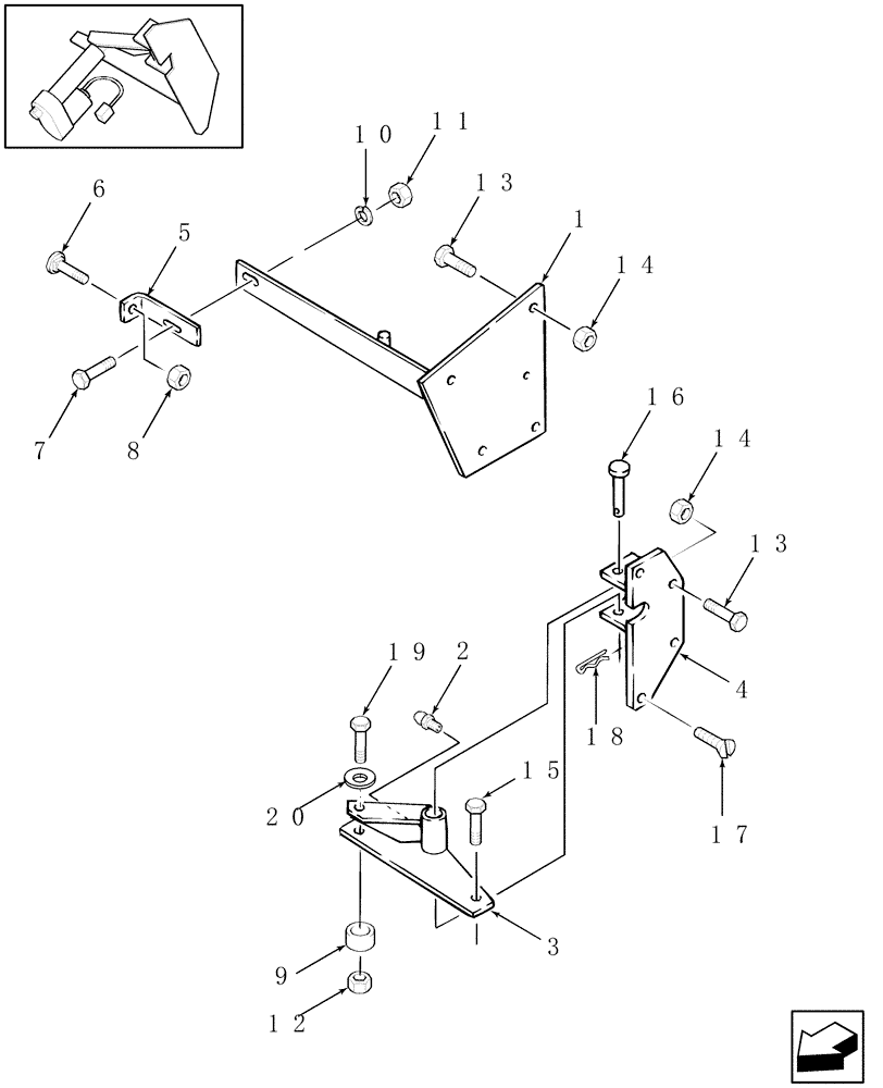
Запчасти Case IH RBX451 (037) - TWINE WRAPPER, ELECTRIC LINKAGE (68) - TYING/WRAPPING

Схема запчастей Case IH RBX451 - (037) - TWINE WRAPPER, ELECTRIC LINKAGE (68) - TYING/WRAPPING
5
2
7
20
18
1
14
13
12
17
6
19
15
14
8
3
16
11
4
13
9
10
FIT
1:1
100%

Артикул

Название

Примечание

Количество

1

86636775

SUPPORT

1шт.

2

219-87

LUBE NIPPLE,1/4" - 28 NPTF

2шт.

3

86628970

PIVOT ASSY.

1шт.

See Fig. 018 for Actuator

1шт.

4

86636986

SUPPORT

1шт.

5

86620938

ANGLE

1шт.

6

811-8020

CARRIAGE BOLT,Sht Sq Nk, M8 x 1.25 x 20mm, Cl 8.8

2шт.

7

811-10030

CARRIAGE BOLT,Sht Sq Nk, M10 x 1.5 x 30mm, Cl 8.8

2шт.

8

825-5148

SERRATED NUT,M8, Flg Ser

2шт.

9

36334

GUIDE

1шт.

10

492-11044

LOCK WASHER,7/16"

6шт.

11

825-1410

NUT,M10, Cl 8

4шт.

12

832-46412

NUT,M12 x 1.75, Cl 8

2шт.

13

614-10020

BOLT,Hex, M10 x 1.5 x 20mm, Cl 8.8, Full Thd

8шт.

14

825-51410

FLANGE NUT,M10, Flg Ser

13шт.

15

614-12040

BOLT,Hex, M12 x 1.75 x 40mm, Cl 8.8, Full Thd

1шт.

16

86636776

PIN

1шт.

17

905-10025

BOLT,Hex Flg, M10 x 25mm

4шт.

18

432-816

COTTER PIN,1/8" x 1"

1шт.

19

814-12100

BOLT,Hex, M12 x 1.75 x 100mm, Cl 8.8

1шт.

20

495-11053

WASHER,1/2", SAE

1шт.

Выбрано товаров: 0