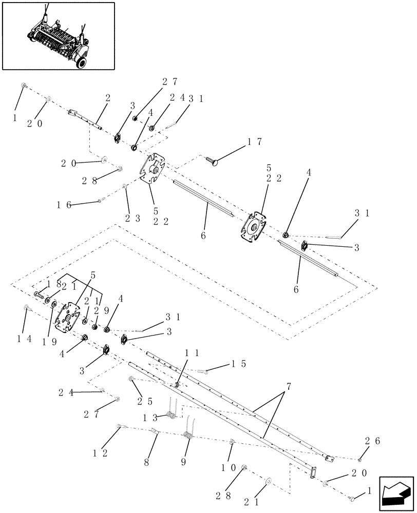
Запчасти Case IH RBX452 (13.432) - 2M WIDE PICKUP, REEL, STRAIGHT & CURVED PICKUP TINES (13) - FEEDER

Схема запчастей Case IH RBX452 - (13.432) - 2M WIDE PICKUP, REEL, STRAIGHT & CURVED PICKUP TINES (13) - FEEDER
4
6
5
8
27
4
16
6
7
29
22
25
18
10
31
20
15
24
4
3
24
21
28
20
4
19
5
14
3
21
1
21
31
11
9
12
13
28
26
1
27
3
2
5
23
20
3
22
31
17
FIT
1:1
100%

Артикул

Название

Примечание

Количество

1

84350126

CAM FOLLOWER,1/2" - 20 x 38mm OD x 54.5mm L

8шт.

2

87023410

TINE BAR,300.5mm L

4шт.

3

54695

BEARING HOUSING

12шт.

4

54770

BALL BEARING,27.33 mm ID x 47.092 mm OD x 25.4 mm

12шт.

5

87034617

DISC

4-Tine Bar, LH

1шт.

5

87047356

DISC

5-Tine Bar, Optional

3шт.

Used to Covert a Pickup from 4-Tine Bar to 5-Tine Bar. Use Existing Parts & Hardware. Order Additional Parts & Hardware as Required.

1шт.

6

86594682

SHAFT

1шт.

7

86626347

TINE BAR

4шт.

Prior to P.I.N. HBJ039095

1шт.

7

87040873

TINE BAR

4шт.

P.I.N. HBJ039096 & After

1шт.

8

134921

BRACKET

Pickup Tooth

64шт.

9

87394242

TORSION SPRING,Coiled, 2 Prong, 186.5mm L

Pickup, Curved, Premium, Standard

32шт.

9

87607074

TINE

Pickup, Curved, Economy, Optional

32шт.

10

86627654

TINE BAR

Tooth

64шт.

11

87023409

SPACER

4.5mm Thk

8шт.

Prior to P.I.N. HBJ039095

1шт.

12

130891

BOLT,Tine, 5/16" - 18 x 2"

Special, Pickup Finger

64шт.

13

86626599

TINE

Pickup, Center, Straight

32шт.

14

9849938

CARRIAGE BOLT,Sht Sq Nk, 3/8" - 16 x 7/8", Gr 5, Full Thd

8шт.

15

43129

BOLT,Hex, M8 x 1.25 x 40mm, LH Thd, Cl 8.8

8шт.

Prior to P.I.N. HBJ039095

1шт.

15

280702

HEX SOC SCREW,5/16 x 1-1/2"

8шт.

P.I.N. HBJ039096 & After

1шт.

16

627-10030

BOLT,Hex, M10 x 1.5 x 30mm, Cl 10.9, Full Thd

3шт.

17

434-612

CARRIAGE BOLT,Sht Sq Nk, 3/8" - 16 x 3/4", Gr 5

16шт.

18

413-1032

BOLT,Hex, 5/8" - 11 x 2", Gr 5

4шт.

20

703960

WASHER

1-1/4" OD, Hardened

16шт.

21

26382

WASHER

21/32" ID x 1-3/32" OD x .060" (16 Gauge) Thick

16шт.

22

86626587

DISC

4-Tine Bar, Center & RH

2шт.

23

140045

BELLEVILLE WASHER,M10 Bolt Size x 22mm OD x 1.6mm Thk

3шт.

24

492-11038

LOCK WASHER,3/8"

24шт.

25

832-46408

NUT,M8 x 1.25, Cl 8

8шт.

26

231-4145

NUT,5/16"-18, GB

64шт.

Prior to P.I.N. HBJ039095

1шт.

26

231-4145

NUT,5/16"-18, GB

72шт.

P.I.N. HBJ039096 & After

1шт.

27

231-4146

NUT,3/8"-16, GB

24шт.

28

88130

NUT,1/2"-20, GC

8шт.

29

280374

NUT,Hex, 5/8" - 11, Gr 5

4шт.

31

136521

COTTER PIN,5.7mm OD x 44.45mm L

Hardened, 1/4" x 1-3/4"

12шт.

Выбрано товаров: 42