Запчасти Case IH RBX453 (13.240) - 1.5M WIDE PICKUP, STUFFER FEEDER (13) - FEEDER

Схема запчастей Case IH RBX453 - (13.240) - 1.5M WIDE PICKUP, STUFFER FEEDER (13) - FEEDER
28
47
13
48
41
39
34
27
13.210
13.220
13.245
13.220
13.220
12
54
8
28
57
53
16
11
40
27
29
28
55
35
14
19
20
14
7
23
56
1
8
19
13
4
42
46
3
30
37
44
32
25
26
17
10
18
31
48
5
45
2
36
6
51
52
22
7
43
9
47
6
21
18
49
56
38
57
5
24
33
29
6
FIT
1:1
100%

Артикул

Название

Примечание

Количество

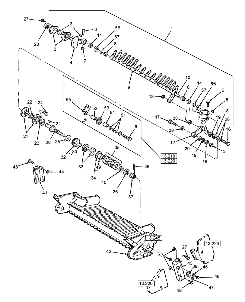
1

87038218

PICK-UP

1.5M Wide Dual Cam, Also Includes: Fig. 13.245 for Additional Components.

1шт.

2

87758679

FLANGED BEARING

2шт.

3

617668R92

BEARING ASSY,1.2505" ID x 62 mm OD x 0.9375"

Ball

1шт.

4

86634610

COUNTERWEIGHT

1шт.

5

126-24

WOODRUFF KEY,#15, 1/4" x 1"

2шт.

6

814-12080

BOLT,Hex, M12 x 1.75 x 80mm, Cl 8.8

3шт.

7

832-46412

NUT,M12 x 1.75, Cl 8

6шт.

8

214366C91

BALL BEARING,25.40mm ID x 52mm OD

Ball

7шт.

9

86634561

FEEDER

Stuffer

1шт.

10

86509398

SHAFT

1шт.

11

86634609

ARM

1шт.

12

86634527

ARM

1шт.

13

232-41412

LOCK NUT,3/4"-10, GC

2шт.

14

455102R21

COLLAR

Locking, Includes: Set Screw

7шт.

15

718013

SPACER

4шт.

16

413-1248

BOLT,Hex, 3/4" - 10 x 3", Gr 5

1шт.

17

413-1240

BOLT,Hex, 3/4" - 10 x 2-1/2", Gr 5

1шт.

18

87644323

SPACER,19.18mm ID x 28.54mm OD x 7.75mm Thk

1шт.

20

557995R11

COLLAR

Locking, Includes: Set Screw

1шт.

21

86635012

FLANGE

Bearing

2шт.

22

571588R92

BALL BEARING,1.3755" ID x 72 mm OD x 1"

1шт.

23

517645R11

COLLAR

Locking, Includes: Set Screw

1шт.

24

614-10020

BOLT,Hex, M10 x 1.5 x 20mm, Cl 8.8, Full Thd

6шт.

25

86567296

WASHER

M100, Nylon

1шт.

26

86977787

SHAFT

Clutch, 419mm Lg.

1шт.

27

905-10020

BOLT,Hex Flg, M10 x 20mm

14шт.

28

87644538

SPACER,19.558mm ID x 28.702mm OD x 1.36mm W

15/ARшт.

29

T39594

BALL BEARING,0.7505" ID x 1.7805" OD x 0.61"

2шт.

30

46962

BUSHING,2" ID x 2.13" OD x 1.25" L

1шт.

31

126-33

WOODRUFF KEY,#D, 5/16" x 1 1/4"

1шт.

32

86637255

SPROCKET ASSY.

1шт.

33

714379

CLUTCH

Jaw

2шт.

34

86637169

HUB

1шт.

35

9822385

BELLEVILLE WASHER,52mm ID x 100mm OD x 3.3mm Thk

5шт.

36

9845592

RING

1шт.

37

280215

SLOTTED NUT,1 1/8"-12, G5

1шт.

38

432-1228

COTTER PIN,3/16" x 1 3/4"

1шт.

39

86639836

COVER

2шт.

40

166490

WASHER,51.6mm ID x 76.2mm OD x 3.68mm Thk

2", Hardened

1шт.

41

86634558

SUPPORT ASSY.

RH

1шт.

42

86837216

FRAME

Pickup

1шт.

43

86634556

SUPPORT ASSY.

LH

1шт.

44

825-51410

FLANGE NUT,M10, Flg Ser

19шт.

45

825-1408

NUT,M8, Cl 8

6шт.

46

811-8020

CARRIAGE BOLT,Sht Sq Nk, M8 x 1.25 x 20mm, Cl 8.8

13шт.

47

825-5148

SERRATED NUT,M8, Flg Ser

19шт.

48

811-10020

CARRIAGE BOLT,Sht Sq Nk, M10 x 1.5 x 20mm, Cl 8.8

5шт.

49

219-87

LUBE NIPPLE,1/4" - 28 NPTF

1шт.

50

140046

BELLEVILLE WASHER,M12 Bolt Size x 27mm OD x 1.8mm Thk

1шт.

51

495-11053

WASHER,1/2", SAE

1шт.

52

86631123

SPACER,12.95mm ID x 19.05mm OD x 27mm L

1шт.

53

165271

DRIVEN SPROCKET

Idler, 15T

1шт.

54

86705271

SPACER,13.5mm ID x 25.4mm OD x 34mm L

1шт.

55

86636654

ARM

1шт.

56

86636651

COVER

2шт.

57

178514

WASHER

2шт.

Выбрано товаров: 56