Запчасти Case IH RBX453 (15.14) - TWINE ARM DRIVE BRACKET (15) - KNOTTER /WRAPPER

Схема запчастей Case IH RBX453 - (15.14) - TWINE ARM DRIVE BRACKET (15) - KNOTTER /WRAPPER
20
5
17
4
11
14
7
3
14
10
1
2
6
FIT
1:1
100%

Артикул

Название

Примечание

Количество

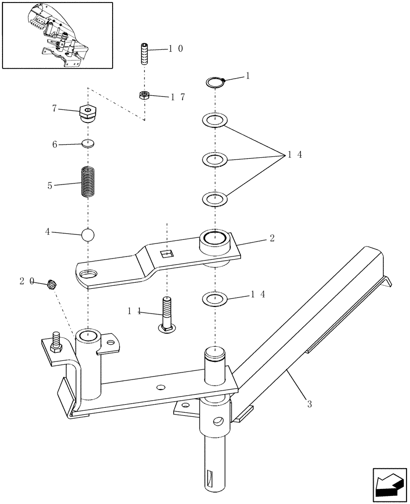
1

25121

SNAP RING,#100, Ext

1шт.

2

86643718

ARM

1шт.

3

86629116

BRACKET

1шт.

4

602505

BALL

1шт.

5

86636632

SPRING

1шт.

6

603153

PLUG

1шт.

7

86636725

REDUCER,3/8" - 16

1шт.

10

87020316

SET SCREW,Hex Skt, 3/8" - 16 x 1 1/2"

Cup Pt

1шт.

11

280436

CARRIAGE BOLT,Short Sq Nk, 1/2" - 13 x 2 1/4", Gr 5

1шт.

14

26129

WASHER,25.8mm ID x 39.69mm OD x 0.99mm Thk

(1-1/64" ID x 1-9/16" OD x 0.036")

4шт.

17

86509499

JAM NUT,3/8"-16, G2

1шт.

20

219-87

LUBE NIPPLE,1/4" - 28 NPTF

1шт.

Выбрано товаров: 12