Запчасти Case IH RBX453 (18.03) - PTO SUPPORT KIT (18) - ACCESSORIES

Схема запчастей Case IH RBX453 - (18.03) - PTO SUPPORT KIT (18) - ACCESSORIES
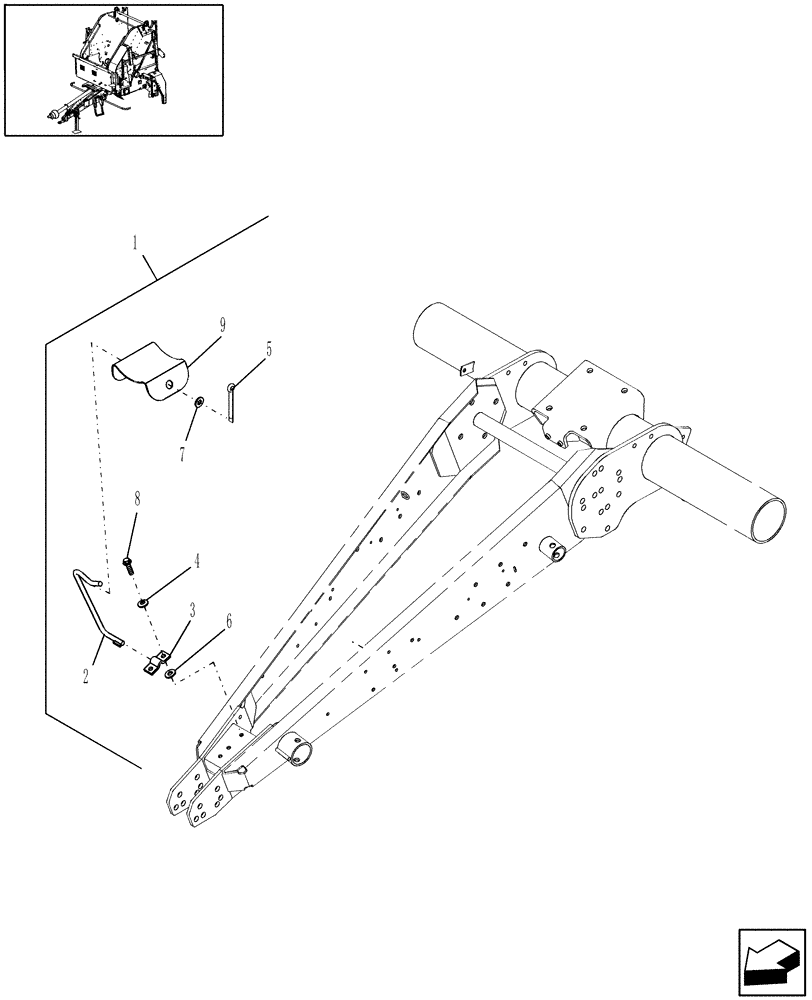
9
4
2
7
5
8
1
3
6
FIT
1:1
100%

Артикул

Название

Примечание

Количество

1

87529330

DIA KIT, HARVESTER

PTO Support, Includes: Installation Instructions

1шт.

Refer to Installation Instructions for Correct Assembly Procedure

1шт.

2

86619421

ROD

1шт.

3

86977230

PLATE

1шт.

4

140045

BELLEVILLE WASHER,M10 Bolt Size x 22mm OD x 1.6mm Thk

2шт.

5

280251

COTTER PIN,3/32" OD x 1" OAL

1шт.

6

81541

WASHER,0.5" ID x 1.25" OD x 0.08" Thk

2шт.

7

86622500

WASHER,13.49mm ID x 22.2mm OD x 1.36mm Thk

2шт.

8

9804262

BOLT,M10 x 39.2mm, Cl 8.8

2шт.

9

87017977

PLATE

Trough

1шт.

Выбрано товаров: 10