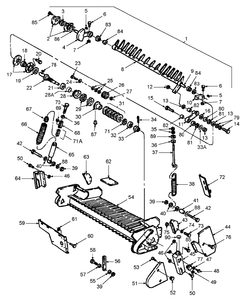
Запчасти Case IH RBX461 (070) - WIDE PICKUP, FEEDER, FLOTATION & SHIELDS (60) - PRODUCT FEEDING

Схема запчастей Case IH RBX461 - (070) - WIDE PICKUP, FEEDER, FLOTATION & SHIELDS (60) - PRODUCT FEEDING
16
28
67
64
5
81
50
27
54
33
19
3
23
8
74
13
12
75
69
86
60
50
6
88
84
18
9
31
38
73
61
5
17
82
83
68
33a
15
71
2
62
82
77
48
85
42
85
30
66
32
43
35
10
80
84
37
89
72
40
59
87
88
20
26
79
80
39
56
36
46
42
71a
53
4
44
11
34
51
39
14
81
40
45
55
46
63
25
41
47
7
90
39
70
22
49
29
13
1
13
57
65
7
52
78
83
58
76
28a
36
24
6
21
FIT
1:1
100%

Артикул

Название

Примечание

Количество

1

0C

ORDER COMPONENTS

Pickup, Wide Dual Cam

1шт.

86619273

1шт.

2

86636169

FLANGED BEARING

Bearing

2шт.

3

617667R92

BALL BEARING,31.75mm ID x 62mm OD x 18mm W

1шт.

4

86634610

COUNTERWEIGHT

1шт.

5

126-24

WOODRUFF KEY,#15, 1/4" x 1"

2шт.

6

814-12080

BOLT,Hex, M12 x 1.75 x 80mm, Cl 8.8

3шт.

7

832-46412

NUT,M12 x 1.75, Cl 8

6шт.

8

86634561

FEEDER

1шт.

9

86509398

SHAFT

1шт.

10

86634609

ARM

1шт.

11

86634527

ARM

1шт.

12

232-41412

LOCK NUT,3/4"-10, GC

1шт.

13

518587

SPACER,12.75mm ID x 25.53mm OD x 22.23mm L

1шт.

14

413-1248

BOLT,Hex, 3/4" - 10 x 3", Gr 5

1шт.

15

413-1240

BOLT,Hex, 3/4" - 10 x 2-1/2", Gr 5

1шт.

16

600083

WASHER,19.3mm ID x 28.7mm OD x 1.36mm Thk

1шт.

17

86635012

FLANGE

Bearing

2шт.

18

571588R92

BALL BEARING,1.3755" ID x 72 mm OD x 1"

1шт.

19

517645R11

COLLAR

Locking, Includes: Set Screw

1шт.

20

614-10020

BOLT,Hex, M10 x 1.5 x 20mm, Cl 8.8, Full Thd

6шт.

21

66849

WASHER,51.59mm ID x 76.2mm OD x 3.17mm Thk

Nylon, 2"

1шт.

22

86515253

SHAFT

1шт.

23

811-12060

CARRIAGE BOLT,Sht Sq Nk, M12 x 1.75 x 60mm, Cl 8.8

3шт.

24

140046

BELLEVILLE WASHER,M12 Bolt Size x 27mm OD x 1.8mm Thk

3шт.

25

495-11053

WASHER,1/2", SAE

1шт.

26

86550790

IDLER WHEEL,90mm OD

Chain

1шт.

27

829-1412

NUT,M12, Cl 10.9

3шт.

28

86637255

SPROCKET ASSY.

Includes: Ref. 28A

1шт.

28a

46962

BUSHING,2" ID x 2.13" OD x 1.25" L

1шт.

29

714379

CLUTCH

Jaw

2шт.

30

86637169

HUB

1шт.

31

9822385

BELLEVILLE WASHER,52mm ID x 100mm OD x 3.3mm Thk

5шт.

32

9845592

RING

1шт.

33

280215

SLOTTED NUT,1 1/8"-12, G5

1шт.

33a

26558

WASHER,28.5mm ID x 45.2mm OD x 1.7mm Thk

1шт.

34

432-1228

COTTER PIN,3/16" x 1 3/4"

1шт.

35

425-106

NUT,3/8"-16, Cl 5

2шт.

36

65319

WASHER,13.1mm ID x 25.4mm OD x 3.68mm Thk

3шт.

37

45314

EYEBOLT

G2, 3/8"-16 x 17-1/4"

1шт.

38

86512547

SPRING,Extension, 1.94" OD x 13 - 1/8" L

Extension

1шт.

39

832-46410

NUT,M10 x 1.5, Cl 8

2шт.

40

213404

SPACER,10.3mm ID x 38.1mm OD x 5.2mm OAL

3/16" x 13/32" ID x 1-1/2" OD

4шт.

41

86500987

SPACER

1шт.

42

814-10080

BOLT,Hex, M10 x 1.5 x 80mm, Cl 8.8

2шт.

43

86628306

FILLER

LH

1шт.

44

86619214

SHIELD

1шт.

45

86634556

SUPPORT ASSY.

LH

1шт.

46

825-51410

FLANGE NUT,M10, Flg Ser

22шт.

47

825-1408

NUT,M8, Cl 8

6шт.

48

811-8020

CARRIAGE BOLT,Sht Sq Nk, M8 x 1.25 x 20mm, Cl 8.8

6шт.

49

825-5148

SERRATED NUT,M8, Flg Ser

19шт.

50

811-10020

CARRIAGE BOLT,Sht Sq Nk, M10 x 1.5 x 20mm, Cl 8.8

5шт.

51

86619277

SHIELD

2шт.

52

87028747

PLUG

Plastic, for 1" Dia. Hole

2шт.

53

381014

SCREW,Flng, M8 x 16mm

HWH, M8 x 1.25 x 16

8шт.

54

86636656

GUARD ASSY.

1шт.

55

213404

SPACER,10.3mm ID x 38.1mm OD x 5.2mm OAL

3/16" x 13/32" ID x 1-1/2" OD

2шт.

56

9804832

BAR

1шт.

57

287129

SPECIAL WASHER

Spacer, 3/8" ID, .294" Thk, Hardened

2шт.

58

614-10030

BOLT,Hex, M10 x 1.5 x 30mm, Cl 8.8, Full Thd

2шт.

59

86620940

SHIELD

LH

1шт.

60

811-8020

CARRIAGE BOLT,Sht Sq Nk, M8 x 1.25 x 20mm, Cl 8.8

6шт.

61

825-5148

SERRATED NUT,M8, Flg Ser

6шт.

62

855657

PAD

2шт.

63

86628307

FILLER

RH

1шт.

64

86634558

SUPPORT ASSY.

RH

1шт.

65

86570492

SHOCK ABSORBER

1шт.

66

9614538

SPRING

Extension

1шт.

67

86636647

SPRING NUT

Spring

1шт.

68

86637305

LINK

Shock Absorber

1шт.

69

86509499

JAM NUT,3/8"-16, G2

1шт.

70

86570494

BOLT

Special

1шт.

71

166490

WASHER,51.6mm ID x 76.2mm OD x 3.68mm Thk

Hardened, 2"

1шт.

72

495-21044

WASHER,3/8"

1шт.

73

811-8020

CARRIAGE BOLT,Sht Sq Nk, M8 x 1.25 x 20mm, Cl 8.8

6шт.

74

285072

WASHER,10.3mm ID x 22.2mm OD x 2.7mm Thk

(3/8")

6шт.

75

825-1408

NUT,M8, Cl 8

6шт.

76

614-10020

BOLT,Hex, M10 x 1.5 x 20mm, Cl 8.8, Full Thd

4шт.

77

86639836

COVER

2шт.

78

126-33

WOODRUFF KEY,#D, 5/16" x 1 1/4"

1шт.

79

65319

WASHER,13.1mm ID x 25.4mm OD x 3.68mm Thk

1шт.

80

T39594

BALL BEARING,0.7505" ID x 1.7805" OD x 0.61"

2шт.

81

100-21175

SNAP RING,1.75", Int, #175

2шт.

82

87644323

SPACER,19.18mm ID x 28.54mm OD x 7.75mm Thk

4шт.

83

86636651

COVER

2шт.

178514

WASHER

Plastic, 1"

2шт.

84

204807C91

BEARING ASSY,25.4mm ID x 52mm OD x 15mm W

3шт.

85

905-10020

BOLT,Hex Flg, M10 x 20mm

18шт.

86

557995R11

COLLAR

Locking, Includes: Set Screw

1шт.

87

219-87

LUBE NIPPLE,1/4" - 28 NPTF

1шт.

88

495-21044

WASHER,3/8"

10шт.

89

9827956

WASHER,10.3mm ID x 25.4mm OD x 2.67mm Thk

Heat Treated, 3/8"

1шт.

90

604727

PLUG

Button

2шт.

Выбрано товаров: 94