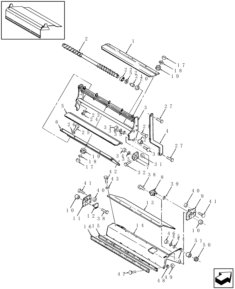
Запчасти Case IH RBX461 (063) - NET WRAP, DUCKBILL & KNIFE ARM (68) - TYING/WRAPPING

Схема запчастей Case IH RBX461 - (063) - NET WRAP, DUCKBILL & KNIFE ARM (68) - TYING/WRAPPING
46
14
5
40
30
17
1
17
10
25
44
50
36
33
41
37
11
26
27
52
51
45
40
35
15
9
16
13
49
7
32
18
38
31
21
22
6
42
10
43
18
23
20
27
19
24
12
3
4
8
2
38
47
29
41
28
34
39
19
48
FIT
1:1
100%

Артикул

Название

Примечание

Количество

1

86637285

BAFFLE

Upper

1шт.

2

86637274

ROLLER

Spreader, Includes: (2) Ref. 22

1шт.

3

86978163

ARM

1шт.

4

86628668

ARM

1шт.

5

86637505

BAFFLE

Lower

1шт.

6

9844941

SHIELD

Rubber

1шт.

7

86636988

HUB

Pivot

2шт.

8

86636773

PLATE

RH

1шт.

9

86636999

PLATE

RH, Includes: Ref. 10

1шт.

10

86504967

DRIVE BUSHING,19.16mm ID x 25.48mm OD x 12.7mm L

2шт.

11

86637001

PLATE

LH, Includes: Ref. 10

1шт.

12

86636772

PLATE

Bearing Mount, LH

1шт.

13

9805972

SHIELD

Canvas Flap

1шт.

14

86978160

PLATE

1шт.

15

9806864

KNIFE,382mm L x 38.1mm W x 3.4mm Thk

3шт.

16

9829255

SUPPORT,1153.2mm L

Knife

1шт.

17

832-10410

NUT,M10 x 1.5, Cl 8

10шт.

18

58225

WASHER,10.32mm ID x 31.8mm OD x 3.45mm Thk

Special, 1-1/4" OD

10шт.

19

102043

GROMMET,19.05mm ID x 34.925mm OD x 11.11mm Thk

10шт.

20

86622552

SHIELD

2шт.

21

86517336

SUPPORT

Roller

2шт.

22

27291

BALL BEARING,20mm ID x 47mm OD x 14mm W

2шт.

23

495-21031

WASHER,1/4"

2шт.

24

832-46406

NUT,M6 x 1, Cl 8

2шт.

25

614-6016

BOLT,Hex, M6 x 1 x 16mm, Cl 8.8, Full Thd

9шт.

26

76028

WASHER,9/32" x 1" x .06" Thk

2шт.

27

87846

HEX SOC SCREW,FLAT, 3/8" - 24 x 1-3/4"

2шт.

28

280760

HEX SOC SCREW,FLAT, 3/8" - 16 x 1-1/2"

2шт.

29

86636722

SPACER,12.62mm ID x 19.05mm OD x 15.75mm L

2шт.

30

86512444

CARRIAGE BOLT,M8 x 1.25 x 40mm, Full Thd, Cl 8.8

4шт.

31

280736

NUT,5/16"-18, GC

4шт.

32

61-33148

HEX SOC SCREW,5/16"-18 x 3"

4шт.

33

322358

BELLEVILLE WASHER,M8 Bolt Size x 18mm OD x 1.4mm Thk

6шт.

34

825-1408

NUT,M8, Cl 8

5шт.

35

495-21044

WASHER,3/8"

1шт.

36

492-11038

LOCK WASHER,3/8"

1шт.

37

232-4146

NUT,3/8"-16, GC

2шт.

38

905-10020

BOLT,Hex Flg, M10 x 20mm

4шт.

39

86637237

WASHER

1-1/8" OD, .135" Thick

1шт.

40

825-5148

SERRATED NUT,M8, Flg Ser

2шт.

41

412430

CARRIAGE BOLT,Sq Nk, M8 x 1.25 x 16mm, Cl 8.8, Full Thd

8шт.

42

614-8020

BOLT,Hex, M8 x 1.25 x 20mm

6шт.

43

495-21038

WASHER,5/16"

9шт.

44

495-21056

WASHER,1/2"

1шт.

45

140046

BELLEVILLE WASHER,M12 Bolt Size x 27mm OD x 1.8mm Thk

4шт.

46

829-1412

NUT,M12, Cl 10.9

4шт.

47

9706703

CARRIAGE BOLT,Sht Sq Nk, M6 x 1 x 20mm, Cl 8.8, Full Thd

9шт.

48

322357

BELLEVILLE WASHER,M6 Bolt Size x 14mm OD x 1.3mm Thk

1шт.

49

825-1406

NUT,M6, Cl 8

18шт.

50

131522

SPACER

Split

1шт.

51

86636876

SHAFT

1шт.

52

794034

WASHER,20.96mm ID x 28.7mm OD x 1.7mm Thk

1шт.

Выбрано товаров: 52