Запчасти Case IH RBX461 (029) - BALE EJECTOR (70) - EJECTION

Схема запчастей Case IH RBX461 - (029) - BALE EJECTOR (70) - EJECTION
3
6
11
1
4
9
7
8
6
2
5
10
FIT
1:1
100%

Артикул

Название

Примечание

Количество

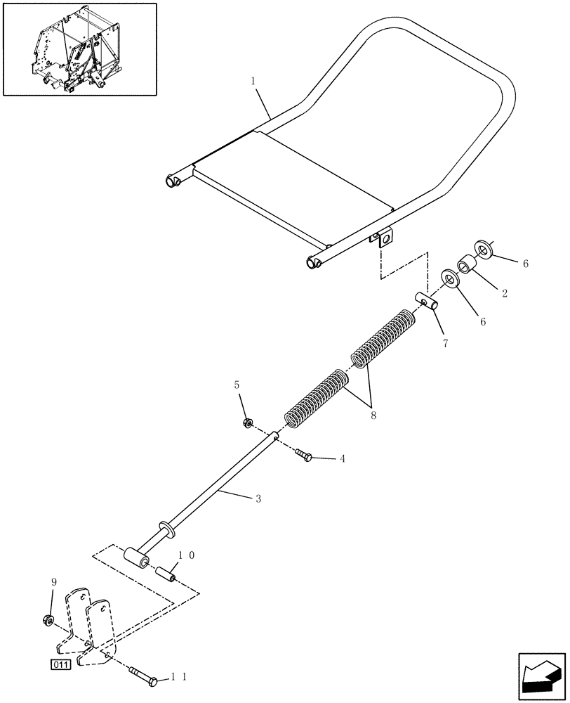
1

86978167

EJECTOR

Bale

1шт.

2

86562970

BUSHING,19.3mm ID x 41.61mm OD x 40.1mm L

Urethane

2шт.

3

86637308

ROD

2шт.

4

426-524

BOLT,Hex, 5/16" - 18 x 1-1/2", Gr 8

2шт.

5

280736

NUT,5/16"-18, GC

2шт.

6

86617511

WASHER,19.84mm ID x 38.1mm OD x 4.78mm Thk

1-1/2" OD

4шт.

7

86637296

PIN

2шт.

8

621022

SPRING

4шт.

9

825-51412

FLANGE NUT,M12, Flg Ser

4шт.

10

647765

SPACER

4шт.

11

814-12090

BOLT,Hex, M12 x 1.75 x 90mm, Cl 8.8

4шт.

Выбрано товаров: 11