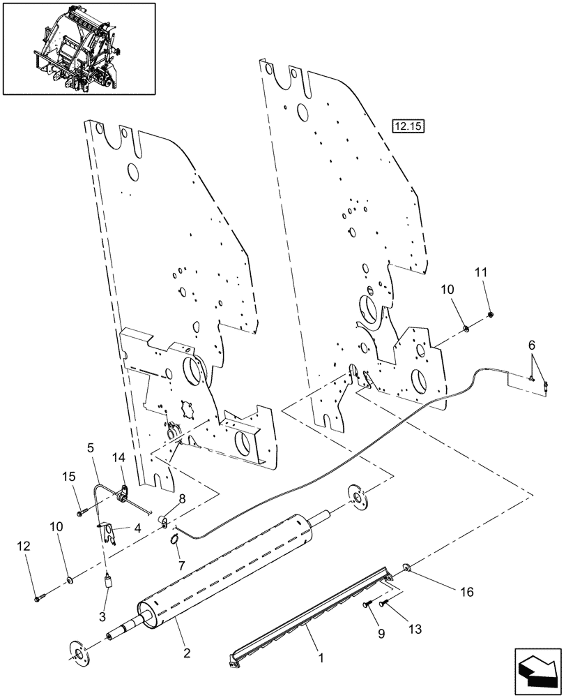
Запчасти Case IH RBX462 (14.15) - STARTER ROLL & RAKE, ROTOR (14) - BALE CHAMBER

Схема запчастей Case IH RBX462 - (14.15) - STARTER ROLL & RAKE, ROTOR (14) - BALE CHAMBER
5
10
8
10
13
7
15
16
14
2
12
12.15
9
1
6
4
11
3
FIT
1:1
100%

Артикул

Название

Примечание

Количество

1

86640870

RAKE

1шт.

2

86635405

ROLL

Starter

1шт.

3

9822519

COMMUTATOR BRUSH

1шт.

Use Existing Hardware

1шт.

4

86643948

BRACKET

1шт.

Use Existing Hardware

1шт.

5

PL

PROCURE LOCALLY

Tube, Nylon, 8' L

1шт.

6

9847002

HYD CONNECTOR

Union Tee

1шт.

Prior to P.I.N. HBJ039359

1шт.

6

87042326

HOLDER

1шт.

P.I.N. HBJ039360 & After

1шт.

7

263117

CABLE TIE,292.1mm L, Nylon, Black

CABLE STRAP

1шт.

8

675162

WIRE CLAMP,6.3mm, Coat, 10.3mm Bolt Hole, P Type

1шт.

9

711-10030

CARRIAGE BOLT,Sq Nk, M10 x 1.5 x 30mm, Cl 8.8

4шт.

10

140045

BELLEVILLE WASHER,M10 Bolt Size x 22mm OD x 1.6mm Thk

5шт.

11

825-2410

FLANGE NUT,M10 x 1.5, Flg, Cl 8

4шт.

12

844-10020

BOLT,Hvy Hex, M10 x 20mm, Cl 8.8

1шт.

13

811-10040

CARRIAGE BOLT,Sht Sq Nk, M10 x 1.5 x 40mm, Cl 8.8

2шт.

14

515-2195

CLAMP,3/8", Insul, 1/4" Bolt

1шт.

15

275-5478

SELF-TAP SCREW,Hex Hd, 1/4" x 1/2"

1шт.

16

122889

SHIM

.015"

1шт.

Выбрано товаров: 21