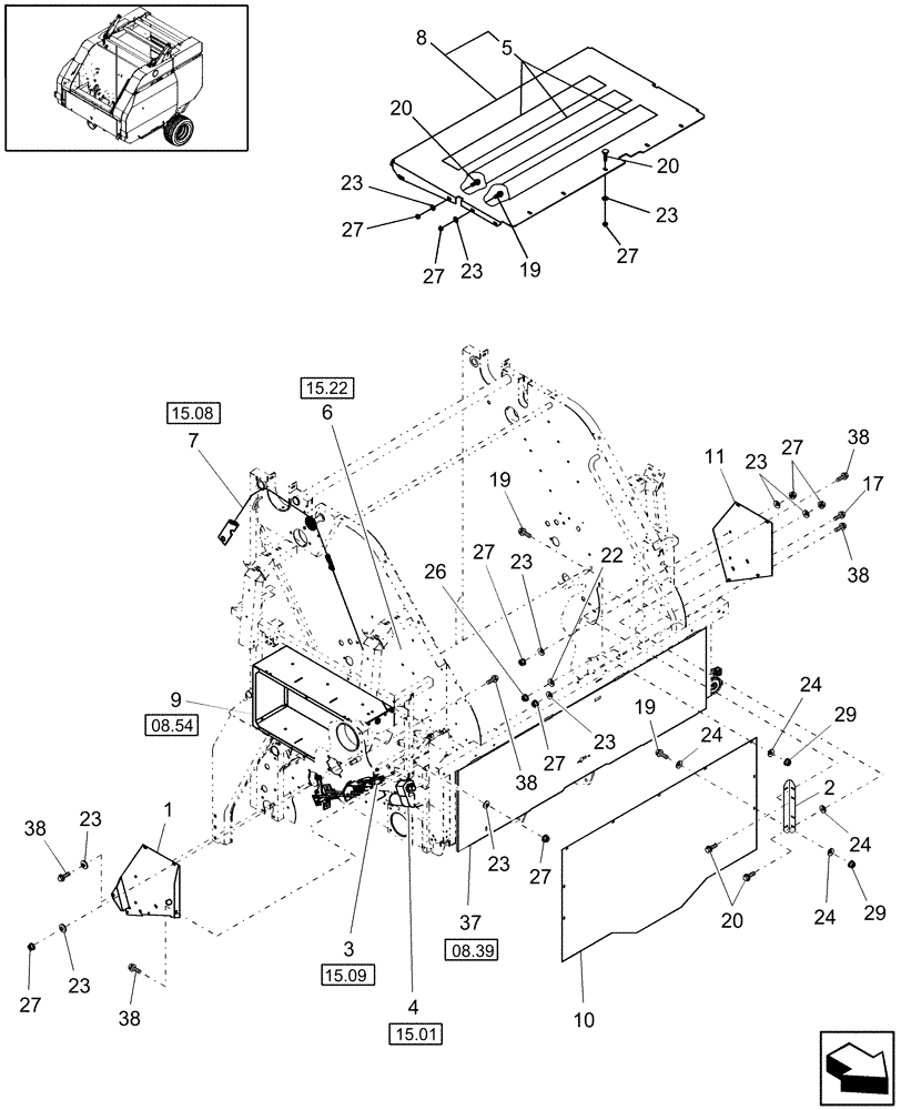
Запчасти Case IH RBX462 (15.04) - ELECTRIC TWINE WRAP, SHIELDS (15) - KNOTTER /WRAPPER

Схема запчастей Case IH RBX462 - (15.04) - ELECTRIC TWINE WRAP, SHIELDS (15) - KNOTTER /WRAPPER
26
20
23
2
1
08.39
27
5
8
11
7
37
23
6
9
23
38
38
19
24
23
24
27
19
15.01
20
27
24
19
15.08
23
29
38
38
27
23
23
23
22
27
38
4
15.22
23
27
27
17
3
10
29
24
27
08.54
20
15.09
FIT
1:1
100%

Артикул

Название

Примечание

Количество

1

87054697

SHEET ASSY.

RH

1шт.

2

87046080

ANGLE

2шт.

3

0C

ORDER COMPONENTS

Counter, Electric Wrap

1шт.

4

0C

ORDER COMPONENTS

Electric Twine Wrap

1шт.

5

86643977

ANTI-SKID STRIP,4” x 40”, Black

3шт.

6

0C

ORDER COMPONENTS

Bale Size Indicator

1шт.

7

0C

ORDER COMPONENTS

Trip, Electric Wrap

1шт.

8

87017062

FLOOR

1шт.

9

0C

ORDER COMPONENTS

Twine Box

1шт.

10

87041094

SHIELD

Rubber

1шт.

11

87054696

SHEET ASSY.

LH

1шт.

17

844-6020

BOLT,Hvy Hex, M6 x 20mm, Cl 8.8

1шт.

19

844-8020

BOLT,Hvy Hex, M8 x 20mm, Cl 8.8

12шт.

20

811-8020

CARRIAGE BOLT,Sht Sq Nk, M8 x 1.25 x 20mm, Cl 8.8

9шт.

22

322357

BELLEVILLE WASHER,M6 Bolt Size x 14mm OD x 1.3mm Thk

1шт.

23

322358

BELLEVILLE WASHER,M8 Bolt Size x 18mm OD x 1.4mm Thk

23шт.

24

80664

WASHER,0.38" ID x 0.88" OD x 0.08" Thk

14шт.

26

825-2406

FLANGE NUT,M6 x 1, Cl 8.8

1шт.

27

825-2408

FLANGE NUT,M8 x 1.25, Flg, Cl 8

23шт.

29

832-46408

NUT,M8 x 1.25, Cl 8

8шт.

37

87014355

DOOR ASSY.

Electric Wrap, North America, Includes: Decals

1шт.

Decals are Not Illustrated in this Figure. Refer to Decal Figure for Proper Decal Location.

1шт.

37

86643388

DOOR ASSY.

Electric Wrap, Europe

1шт.

38

86511841

BOLT,Flng, M8 x 1.25 x 16mm, Full Thd, Cl 8.8

6шт.

Выбрано товаров: 24