Запчасти Case IH RBX561 (024) - TWINE WRAPPER (68) - TYING/WRAPPING

Схема запчастей Case IH RBX561 - (024) - TWINE WRAPPER (68) - TYING/WRAPPING
23
5
13
7
15
17
6
14
8
15
19
21
20
7
11
18
2
16
12
3
4
25
15
13
18
9
1
10
14
24
22
12
FIT
1:1
100%

Артикул

Название

Примечание

Количество

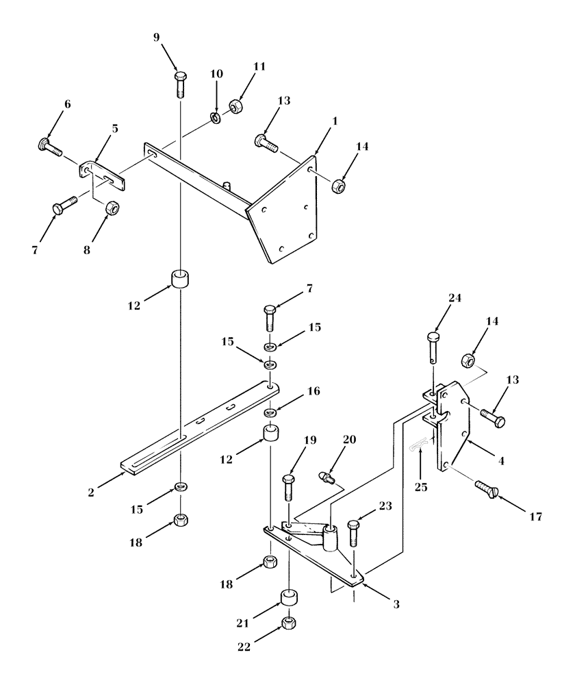
1

86636775

SUPPORT

1шт.

2

86636780

BAR

Flat

1шт.

3

86637302

ARM

1шт.

4

86636986

SUPPORT

1шт.

5

86620938

ANGLE

1шт.

6

811-8020

CARRIAGE BOLT,Sht Sq Nk, M8 x 1.25 x 20mm, Cl 8.8

2шт.

7

811-10030

CARRIAGE BOLT,Sht Sq Nk, M10 x 1.5 x 30mm, Cl 8.8

2шт.

8

825-5148

SERRATED NUT,M8, Flg Ser

6шт.

9

614-8030

BOLT,Hex, M8 x 1.25 x 30mm, Cl 8.8, Full Thd

5шт.

10

492-11044

LOCK WASHER,7/16"

6шт.

11

825-1410

NUT,M10, Cl 8

4шт.

12

25457

SPACER

2шт.

13

614-10020

BOLT,Hex, M10 x 1.5 x 20mm, Cl 8.8, Full Thd

14шт.

14

825-51410

FLANGE NUT,M10, Flg Ser

13шт.

15

495-21038

WASHER,5/16"

3шт.

16

721

WASHER,13.5mm ID x 22.2mm OD x 1.36mm Thk

Spacer, 7/8" OD

1шт.

17

905-10025

BOLT,Hex Flg, M10 x 25mm

4шт.

18

832-46408

NUT,M8 x 1.25, Cl 8

2шт.

19

814-12080

BOLT,Hex, M12 x 1.75 x 80mm, Cl 8.8

1шт.

20

219-87

LUBE NIPPLE,1/4" - 28 NPTF

2шт.

21

36334

GUIDE

1шт.

22

832-46412

NUT,M12 x 1.75, Cl 8

2шт.

23

614-12040

BOLT,Hex, M12 x 1.75 x 40mm, Cl 8.8, Full Thd

1шт.

24

86636776

PIN

1шт.

25

432-816

COTTER PIN,1/8" x 1"

1шт.

Выбрано товаров: 25