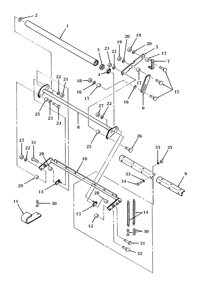
Запчасти Case IH RBX561 (039) - NET WRAP, BRAKE BAR & COUNTER ROLLER (68) - TYING/WRAPPING

Схема запчастей Case IH RBX561 - (039) - NET WRAP, BRAKE BAR & COUNTER ROLLER (68) - TYING/WRAPPING
14
20
24
22
17
13
6
22
19
16
32
30
7
25
34
19
28
22
35
11
26
9
21
2
1
33
30
4
33
16
20
5
21
18
12
31
28
13
27
31
25
17
8
27
17
10
29
15
23
22
3
FIT
1:1
100%

Артикул

Название

Примечание

Количество

1

86636880

TUBE,1707 mm L

1шт.

2

140021

WASHER,22mm ID x 37mm OD x 3mm Thk

1шт.

3

9805956

HUB

Includes: Magnet

1шт.

4

242038

BALL BEARING,19.84mm ID x 28.7mm OD x 15.88mm L

1шт.

5

86637003

ARM

1шт.

6

86636977

LATCH

1шт.

7

86637166

HANDLE

1шт.

8

86636882

ARM

1шт.

9

9841749

PAD

1шт.

10

86636881

BRAKE

1шт.

11

9800151

BAR PLATE

1шт.

12

131522

SPACER

Split

1шт.

13

86636883

PIN

2шт.

14

38668

SPRING

2шт.

15

308761

CARRIAGE BOLT,M8 x 1.25 x 25mm, Cl 8.8

3шт.

16

495-21038

WASHER,5/16"

9шт.

17

25457

SPACER

3шт.

18

825-1408

NUT,M8, Cl 8

5шт.

19

832-46408

NUT,M8 x 1.25, Cl 8

2шт.

20

492-11031

LOCK WASHER,5/16"

6шт.

21

832-46410

NUT,M10 x 1.5, Cl 8

4шт.

22

140045

BELLEVILLE WASHER,M10 Bolt Size x 22mm OD x 1.6mm Thk

1шт.

23

495-21044

WASHER,3/8"

1шт.

24

814-10050

BOLT,Hex, M10 x 1.5 x 50mm, Cl 8.8

1шт.

25

86636722

SPACER,12.62mm ID x 19.05mm OD x 15.75mm L

2шт.

26

811-10030

CARRIAGE BOLT,Sht Sq Nk, M10 x 1.5 x 30mm, Cl 8.8

1шт.

27

825-1410

NUT,M10, Cl 8

1шт.

28

137938

SPACER

2шт.

29

646056

SPACER,13/32” ID x .750” OD x .338” Tk.

1шт.

30

432-1212

COTTER PIN,3/16" x 3/4"

2шт.

31

811-10050

CARRIAGE BOLT,Sht Sq Nk, M10 x 1.5 x 50mm, Cl 8.8

2шт.

32

811-12040

CARRIAGE BOLT,Sht Sq Nk, M12 x 1.75 x 40mm, Cl 8.8

1шт.

33

322357

BELLEVILLE WASHER,M6 Bolt Size x 14mm OD x 1.3mm Thk

1шт.

34

614-6016

BOLT,Hex, M6 x 1 x 16mm, Cl 8.8, Full Thd

9шт.

35

825-1406

NUT,M6, Cl 8

19шт.

Выбрано товаров: 35