Запчасти Case IH RBX563 (18.09[1]) - HYDRAULIC BALE EJECTOR & HYDRAULICS (18) - ACCESSORIES

Схема запчастей Case IH RBX563 - (18.09[1]) - HYDRAULIC BALE EJECTOR & HYDRAULICS (18) - ACCESSORIES
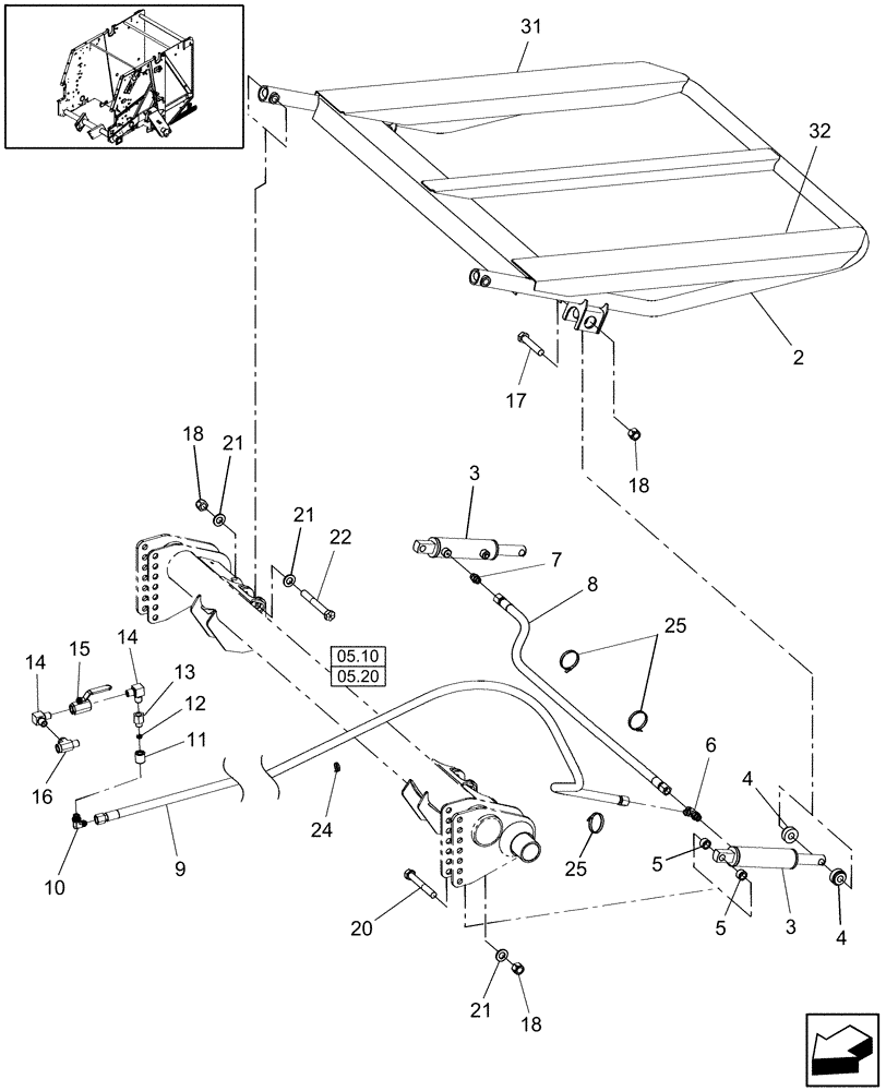
2
21
31
17
32
12
7
14
05.20
16
8
18
15
5
5
21
11
24
18
6
21
13
22
4
3
9
4
25
14
05.10
18
25
3
20
10
FIT
1:1
100%

Артикул

Название

Примечание

Количество

1

W0

ORDER WHOLEGOODS

Hydraulic Bale Ramp Kit, Includes: Instructions {87667413}

1шт.

Refer to Installation Instructions for Correct Assembly Procedure

1шт.

RBX463 Only

1шт.

1

W0

ORDER WHOLEGOODS

Hydraulic Bale Ramp Kit, Includes: Instructions {87630233}

1шт.

Refer to Installation Instructions for Correct Assembly Procedure

1шт.

2

87485517

EJECTOR

1шт.

3

87731915

HYDRAULIC CYLINDER,Double Acting, 31.75mm Rod, 107.95mm Stroke

Bale Ramp

2шт.

4

87601384

SPACER,20mm ID x 47.6mm OD x 22.2mm Thk

SPACER

4шт.

5

87022762

BEARING,0.785" ID x 1.13" OD x 5"

4шт.

6

265808

TEE,3/4" - 16 JIC x 3/4" - 16 JIC x 3/4" - 16 ORB

Includes: Ref. 19

1шт.

7

128818

UNION,3/4" - 16 ORB x 3/4" - 16 JIC

Includes: Ref. 19

1шт.

8

603664

FLEXIBLE HOSE,0.50" ID x 36.00", SAE 100R1

1шт.

RBX463 Only

1шт.

8

86546420

FLEXIBLE HOSE,1473.2 mm x 12.70, SAE 100R2

1шт.

RBX563 Only

1шт.

9

87611136

FLEXIBLE HOSE

230"

1шт.

10

128830

90 ELBOW,3/4" - 16 JIC x 3/4" - 16 ORB

Incl. Ref. 19

1шт.

11

86635143

COUPLING,3/4" - 16, 1-9/64" L

1шт.

12

86630002

ORIFICE,15.88mm OD x 5.08mm Thk

Plate

1шт.

13

86635143

COUPLING,3/4" - 16, 1-9/64" L

1шт.

14

217-1226

ELBOW,90 Degree, 1/2"-14 Male

2шт.

15

87642600

HYDRAULIC VALVE

BALL

1шт.

16

617267

TEE,1/2"-14 Female x 1/2"-14 Male Run

1шт.

17

280210

BOLT,Hex, 3/4"-10 x 4", G5

2шт.

18

9626598

NUT,3/4"-10, GB

6шт.

19

128825

O-RING,0.087" Thk x 0.644" ID, -908, Cl 6, 90 Duro

3шт.

Not Illustrated

1шт.

20

86508734

BOLT,Hex, 3/4" - 10 x 5 1/2", Gr 8

2шт.

21

394632

WASHER,21mm ID x 40mm OD x 4mm Thk

6шт.

22

86508735

BOLT,Hex, 3/4" - 10 x 6", Gr 8

2шт.

RBX563 Only

1шт.

24

263117

CABLE TIE,292.1mm L, Nylon, Black

CABLE STRAP

6шт.

25

87034173

CABLE TIE,774.7mm L

CABLE STRAP

3шт.

26

NSS

NOT SOLD SEPARAT

Plate {87719456}

2шт.

Refer to Installation Instructions for Correct Assembly Procedure

1шт.

RBX463 Only

1шт.

Welding Required

1шт.

Not Illustrated

1шт.

26

NSS

NOT SOLD SEPARAT

Plate {87712591}

2шт.

Refer to Installation Instructions for Correct Assembly Procedure

1шт.

RBX563 Only

1шт.

Welding Required

1шт.

Not Illustrated

1шт.

27

NSS

NOT SOLD SEPARAT

Plate {87719458}

2шт.

Refer to Installation Instructions for Correct Assembly Procedure

1шт.

RBX463 Only

1шт.

Welding Required

1шт.

Not Illustrated

1шт.

27

NSS

NOT SOLD SEPARAT

Plate {87712649}

2шт.

Refer to Installation Instructions for Correct Assembly Procedure

1шт.

RBX563 Only

1шт.

Welding Required

1шт.

Not Illustrated

1шт.

28

NSS

NOT SOLD SEPARAT

Brace {87627341}

4шт.

Refer to Installation Instructions for Correct Assembly Procedure

1шт.

Welding Required

1шт.

Not Illustrated

1шт.

29

NSS

NOT SOLD SEPARAT

Plate {87712590}

4шт.

Refer to Installation Instructions for Correct Assembly Procedure

1шт.

Welding Required

1шт.

Not Illustrated

1шт.

30

NSS

NOT SOLD SEPARAT

Support {87723365}

4шт.

Refer to Installation Instructions for Correct Assembly Procedure

1шт.

RBX463 Only

1шт.

Not Illustrated

1шт.

30

NSS

NOT SOLD SEPARAT

Support {87723289}

2шт.

Refer to Installation Instructions for Correct Assembly Procedure

1шт.

RBX563 Only

1шт.

Welding Required

1шт.

Not Illustrated

1шт.

31

NSS

NOT SOLD SEPARAT

Channel RH {87041479}

1шт.

Refer to Installation Instructions for Correct Assembly Procedure

1шт.

RBX463 Only

1шт.

Welding Required

1шт.

32

NSS

NOT SOLD SEPARAT

Channel LH {87040728}

1шт.

Refer to Installation Instructions for Correct Assembly Procedure

1шт.

RBX463 Only

1шт.

Welding Required

1шт.

Выбрано товаров: 78