Запчасти Case IH RS451 (7-38) - MESH WRAP CARRIAGE ASSEMBLY (12) - MAIN FRAME

Схема запчастей Case IH RS451 - (7-38) - MESH WRAP CARRIAGE ASSEMBLY (12) - MAIN FRAME
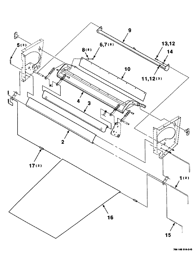
14
12
5
13
6
12
7
11
2
3
10
8
15
17
9
4
16
1
FIT
1:1
100%

Артикул

Название

Примечание

Количество

1

700148647

PIN

2шт.

2

700148646

PANEL

1шт.

3

700148633

PANEL

WA

1шт.

4

700148625

ARM

WA

1шт.

5

T54573

PIN

.120 WIRE HAIR PIN COTTER

3шт.

6

440-13112

SCREW,Cross Pan Hd, 5/16"-18 x 3/4"

5/16-18 X 3/4 CRPHMS GR60M

8шт.

7

232-5315

FLANGE NUT,Flg, 5/16"-18

5/16-18 HFTLN GR/G

8шт.

8

496-81010

WASHER

3/8 HARDENED WIDE PLAIN WASHER

8шт.

9

700148654

TUBE,1344 mm Length

WA

1шт.

10

700718297

SHIELD

- hold down

1шт.

11

434-616

CARRIAGE BOLT,Sht Sq Nk, 3/8" - 16 x 1", Gr 5

3/8-16 X 1 RHSNB

3шт.

12

232-5316

FLANGE NUT,Flg, 3/8"-16

3/8-16 HFTLN GR/G

4шт.

13

700711134

SCREW

3/8-16 X 1-3/4 HFS GR8

1шт.

14

6869382

SPACER

1шт.

15

700148687

PIN

1шт.

16

700148713

PANEL

1шт.

17

700152042

SPACER

2шт.

Выбрано товаров: 17