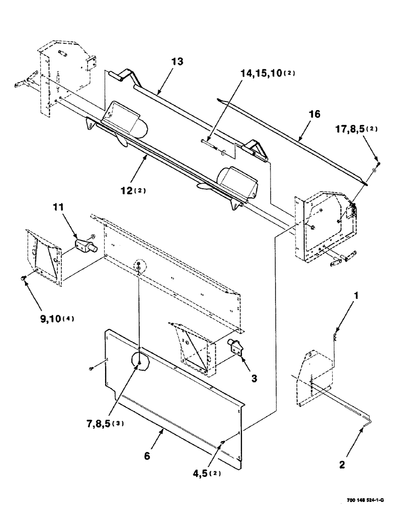
Запчасти Case IH RS451 (7-40) - MESH WRAP ROLLER SUPPORT ASSEMBLY (12) - MAIN FRAME

Схема запчастей Case IH RS451 - (7-40) - MESH WRAP ROLLER SUPPORT ASSEMBLY (12) - MAIN FRAME
13
14
8
10
5
7
9
10
15
4
17
5
5
8
12
6
1
2
16
11
3
FIT
1:1
100%

Артикул

Название

Примечание

Количество

1

T54573

PIN

.120 WIRE HAIR PIN COTTER

1шт.

2

700148579

ROD

- 4'

1шт.

3

700148602

PIVOT

WA - left

1шт.

4

409-7612

BOLT,3/8"-16 x 1.09" OAL

3/8-16 X 3/4 HWHMS

2шт.

5

232-5316

FLANGE NUT,Flg, 3/8"-16

3/8-16 HFTLN GR/G

7шт.

6

700148710

PANEL

1шт.

7

433-612

CARRIAGE BOLT,Sq Nk, 3/8" - 16 x 3/4", Gr 5

3шт.

8

496-81010

WASHER

3/8 HARDENED WIDE PLAIN WASHER

5шт.

9

360-816

BOLT,Hex, 1/2" - 13 x 1", Gr 8

1/2-13 X 1 HFS GR8

4шт.

10

231-5348

FLANGE NUT,Flg, 1/2"-13

1/2-13 HFTLN GR/G

6шт.

11

700148603

PIVOT

WA - right

1шт.

12

700148597

SUPPORT

WA

2шт.

13

700148591

ARM

WA

1шт.

14

413-888

BOLT,Hex, 1/2" - 13 x 5-1/2", Gr 5

.5 X 5.5 UNC GR5 YZD

2шт.

15

700711557

WASHER

1/2 HARDENED WIDE PLAIN WASHER

2шт.

16

700148688

SHAFT

PIPE

1шт.

17

121-237

SERRATED BOLT,Hex, 3/8" - 16 x 1 1/4, Spcl

3/8-16 X 1-1/4 HFS GR8

2шт.

Выбрано товаров: 17