Запчасти Case IH RS451 (9-34) - RIENK KIT, HK50983 RIENK KIT COMPLETE, TO BE ORDERED THROUGH WHOLEGOODS ONLY Decals & Attachments

Схема запчастей Case IH RS451 - (9-34) - RIENK KIT, HK50983 RIENK KIT COMPLETE, TO BE ORDERED THROUGH WHOLEGOODS ONLY Decals & Attachments
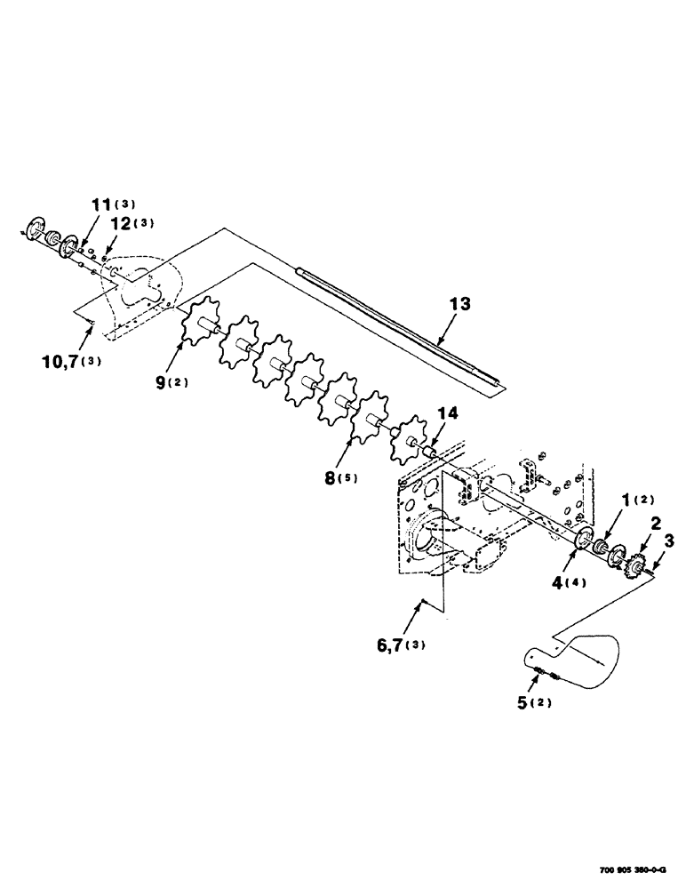
8
4
1
10
11
9
3
5
7
2
13
14
6
7
12
FIT
1:1
100%

Артикул

Название

Примечание

Количество

HK50983

RIENK KIT COMPLETE

1шт.

1

51292

SPHERICAL BEARING,1.25" ID x 72 mm OD x 19 mm

- spherical

2шт.

2

700135180

SPROCKET ASSY.

SPROCKET WA - 15 tooth

1шт.

3

249-1

KEY

1/4 X 1-3/4 KEY - gib

1шт.

4

617863R1

FLANGED BEARING

4шт.

5

241-1718

LINK,25.4mm Pitch

OFFSET LINK #80

2шт.

6

433-620

CARRIAGE BOLT,Sq Nk, 3/8" - 16 x 1 1/4", Gr 5

BOLT, CARRIAGE, Short NK, 3/8"-16 x 1 1/4", G5

3шт.

7

231-4116

NUT,3/8"-16, GB

3/8-16 HTLN GR/B

6шт.

8

700135176

WHEEL

REINK WA

5шт.

9

700151528

WHEEL

REINK WA - outer

2шт.

10

433-628

CARRIAGE BOLT,Sq Nk, 3/8" - 16 x 1 3/4", Gr 5

3/8-16 X 1-3/4 RHSNB

3шт.

11

700135179

SPACER

3шт.

12

705541

WASHER,0.53" ID x 1.06" OD x 0.14" Thk

1/2 HARDENED PLAIN WASHER

3шт.

13

700151478

SHAFT

- hex

1шт.

14

700150196

SPACER

1шт.

Выбрано товаров: 15