Запчасти Case IH RS451 (2-36) - DE-CLUTCH LINKAGE ASSEMBLY Driveline

Схема запчастей Case IH RS451 - (2-36) - DE-CLUTCH LINKAGE ASSEMBLY Driveline
2
16
17
8
14
8
12
13
6
20
15
10
1
9
7
19
18
3
5
11
FIT
1:1
100%

Артикул

Название

Примечание

Количество

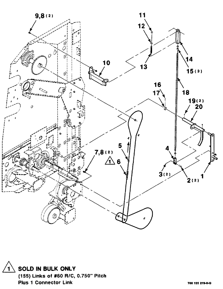
1

700135551

SUPPORT

WA

1шт.

2

63677

WASHER

1/2 X 1-27/64 CLEVIS PIN

2шт.

3

432-1016

COTTER PIN,5/32" x 1"

5/32" x 1"

2шт.

4

66183

SHAFT

1шт.

5

241-1316

LINK,19.05mm Pitch

LINK - connector, #60 R/C

1шт.

6

7086002

CHAIN (AG)

CHAIN - roller, #60 (10 Foot Bulk)

1шт.

7

121-226

SERRATED BOLT,Hex, 3/8" - 16 x 1"

2шт.

8

232-5316

FLANGE NUT,Flg, 3/8"-16

3/8-16 HFTLN GR/G

4шт.

9

409-7612

BOLT,3/8"-16 x 1.09" OAL

3/8-16 X 3/4 HWHMS

2шт.

10

700135561

LEVER

WA

1шт.

11

230-4118

LOCK NUT,1/2"-13, GA

1/2-13 HTLN GR/B

1шт.

12

705541

WASHER,0.53" ID x 1.06" OD x 0.14" Thk

1/2 HARDENED PLAIN WASHER

1шт.

13

858027

COMPRESSION SPRING

SPRING - compression

1шт.

14

700132453

CLEVIS

1шт.

15

425-108

NUT,1/2" - 13, Gr 5

NUT, , Hex 1/2"-13, G5

3шт.

16

483-1316

SET SCREW,Hex Soc, 5/16"-18 x 3/8"

5/16-18 X 3/8 CPHSSS NP

1шт.

17

700135187

COLLAR

1шт.

18

700135750

ROD

1шт.

19

219-8

LUBE NIPPLE,1/4" - 28 NPTF

NIPPLE, LUBE, 1/4"-28 NPT x .54" lg

2шт.

20

700135557

LEVER

WA

1шт.

Выбрано товаров: 20