Запчасти Case IH RS451 (7-04) - HITCH AND TONGUE ASSEMBLY (12) - MAIN FRAME

Схема запчастей Case IH RS451 - (7-04) - HITCH AND TONGUE ASSEMBLY (12) - MAIN FRAME
2
2
16
7
14
15
13
17
12
8
6
11
1
10
5
4
3
12
12
9
12
FIT
1:1
100%

Артикул

Название

Примечание

Количество

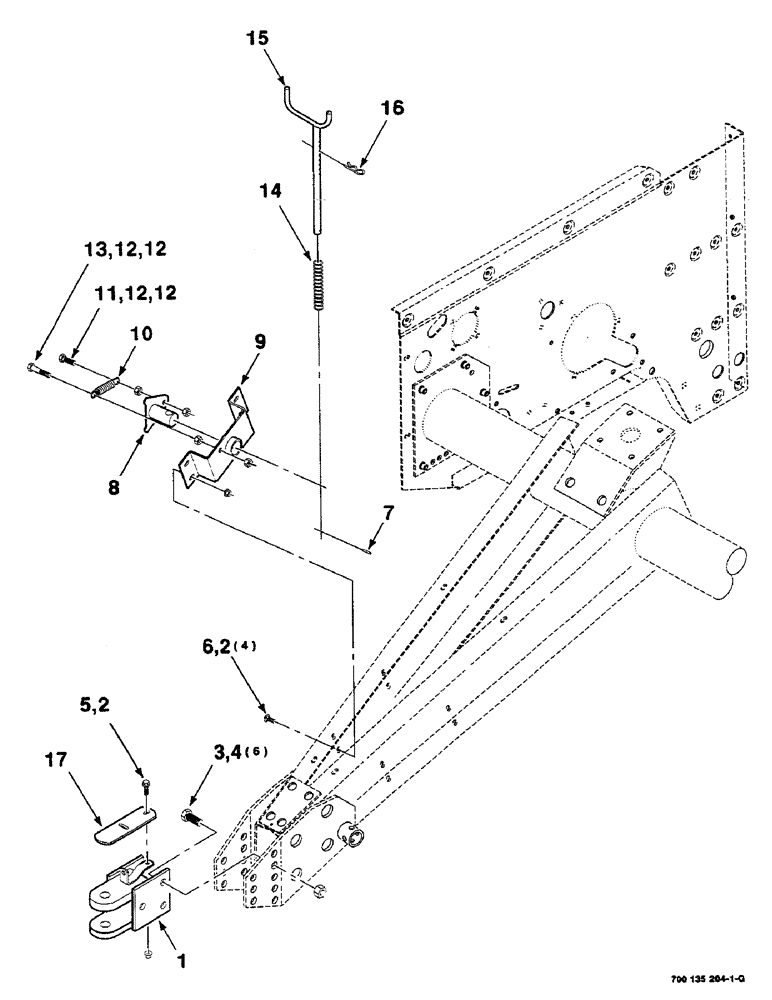
1

700147507

TRAILER HITCH

HITCH WA

1шт.

2

232-5316

FLANGE NUT,Flg, 3/8"-16

3/8-16 HFTLN GR/G

5шт.

3

413-1228

BOLT,Hex, 3/4" - 10 x 1-3/4", Gr 5

3/4-10 x 1-3/4 C

6шт.

4

230-41112

LOCK NUT,3/4"-10, GA

3/4-10 HTLN GR/B

6шт.

5

121-237

SERRATED BOLT,Hex, 3/8" - 16 x 1 1/4, Spcl

3/8-16 X 1-1/4 HFS GR8

1шт.

6

434-616

CARRIAGE BOLT,Sht Sq Nk, 3/8" - 16 x 1", Gr 5

3/8-16 X 1 RHSNB

4шт.

7

38-11218

LOCK PIN,3/16" x 1 1/8", Slotted

Pin, 3/16" x 1 1/8", Slotted

1шт.

8

700150002

LEVER

WA

1шт.

9

700150000

SUPPORT

WA

1шт.

10

700717555

SPRING

- extension

1шт.

11

413-824

BOLT,Hex, 1/2" - 13 x 1-1/2", Gr 5

1шт.

12

425-108

NUT,1/2" - 13, Gr 5

NUT, , Hex 1/2"-13, G5

4шт.

13

413-840

BOLT,Hex, 1/2" - 13 x 2-1/2", Gr 5

1/2-13 X 2-1/2 C

1шт.

14

700716448

SPRING

- compression

1шт.

15

700135760

ROD

WA

1шт.

16

062455

PIN, SPLIT (COTTER)

.178 WIRE HAIR PIN COTTER

1шт.

17

700132315

PLATE

1шт.

Выбрано товаров: 17