Запчасти Case IH RS451 (7-12) - SHIELD ASSEMBLIES, FRONT (12) - MAIN FRAME

Схема запчастей Case IH RS451 - (7-12) - SHIELD ASSEMBLIES, FRONT (12) - MAIN FRAME
6
7
7
20
5
16
1
11
17
10
21
26
19
9
7
2
7
6
15
6
23
7
14
25
22
6
4
12
3
7
24
18
13
6
8
FIT
1:1
100%

Артикул

Название

Примечание

Количество

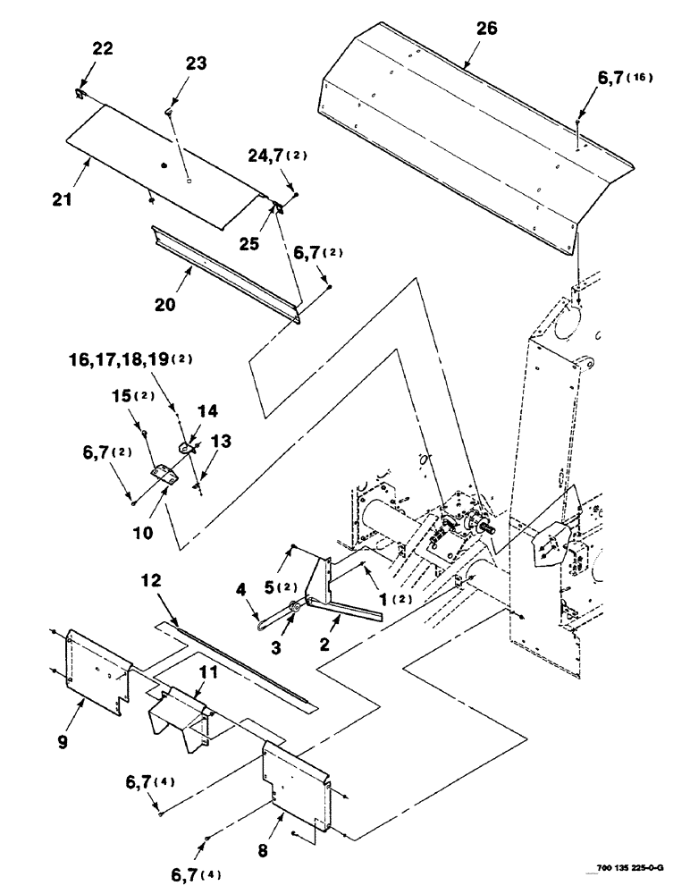
1

232-5315

FLANGE NUT,Flg, 5/16"-18

5/16-18 HFTLN GR/G

2шт.

2

700135753

GUIDE

- WA

1шт.

3

7745003

GUIDE

1шт.

4

766543

SCREW

1шт.

5

281-34912

SELF-TAP SCREW,Hex Washer, 3/8" - 16 x 3/4"

3/8-16 X 3/4 HWHTCTS

2шт.

6

409-7612

BOLT,3/8"-16 x 1.09" OAL

3/8-16 X 3/4 HWHMS

28шт.

7

232-5316

FLANGE NUT,Flg, 3/8"-16

3/8-16 HFTLN GR/G

30шт.

8

700135588

SHIELD

- left

1шт.

9

700135591

SHIELD

- right

1шт.

10

700150180

SUPPORT

1шт.

11

700135592

SHIELD

1шт.

12

700135613

ROD

1шт.

13

700714529

SOCKET/RECEPTACLE

RECEPTACLE

1шт.

14

700150181

SUPPORT

1шт.

15

360-816

BOLT,Hex, 1/2" - 13 x 1", Gr 8

1/2-13 X 1 HFS GR8

2шт.

16

340-1108

SCREW,Cross Pan Hd, #10-24 x 1/2"

#10-24 X 1/2 CRPHMS GR 60M

2шт.

17

195-513

WASHER,#10

PLAIN WASHER #10

2шт.

18

492-11010

LOCK WASHER,#10

WASHER, LOCK, #10

2шт.

19

225-14110

NUT,#10-24

2шт.

20

700135585

PANEL

1шт.

21

700135579

PANEL

SHIELD

1шт.

22

700132465

HINGE

WA - right

1шт.

23

700714706

LATCH

- 90 degree turn

1шт.

24

121-226

SERRATED BOLT,Hex, 3/8" - 16 x 1"

2шт.

25

700132462

HINGE

WA - left

1шт.

26

700135595

SUPPORT

- upper

1шт.

Выбрано товаров: 26