Запчасти Case IH RS451 (7-16) - SHIELD SUPPORT AND HINGE ASSEMBLIES, RIGHT (12) - MAIN FRAME

Схема запчастей Case IH RS451 - (7-16) - SHIELD SUPPORT AND HINGE ASSEMBLIES, RIGHT (12) - MAIN FRAME
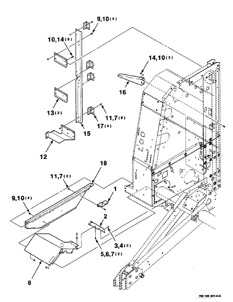
12
7
17
5
10
11
7
14
16
18
1
9
2
10
10
3
11
8
9
15
6
13
10
4
14
7
FIT
1:1
100%

Артикул

Название

Примечание

Количество

1

700135634

SUPPORT

1шт.

2

700150884

SHIELD

- lower, right

1шт.

3

7883275

SCREW,Hex Washer, 1/4" - 20 x 3/4"

1/4-20 X 3/4 HWHMS

2шт.

4

1703354

NUT

1/4-20 HFTLN GR/G

2шт.

5

434-512

CARRIAGE BOLT,Sht Sq Nk, 5/16" - 18 x 3/4", Gr 5

BOLT, CARRIAGE, Short NK, 5/16"-18 x 3/4", G5, Full Thd

2шт.

6

496-81010

WASHER

3/8 HARDENED WIDE PLAIN WASHER

2шт.

7

231-5145

SERRATED NUT,Flg, USR, 5/16"-18

NUT, Flg, USR, 5/16"-18

12шт.

8

700150825

SHIELD

- right

1шт.

9

409-7612

BOLT,3/8"-16 x 1.09" OAL

3/8-16 X 3/4 HWHMS

8шт.

10

232-5316

FLANGE NUT,Flg, 3/8"-16

3/8-16 HFTLN GR/G

16шт.

11

121-115

SERRATED BOLT,Hex, 5/16" - 18 x 3/4"

10шт.

12

700135683

SUPPORT

- right

1шт.

13

700135628

SUPPORT

2шт.

14

121-226

SERRATED BOLT,Hex, 3/8" - 16 x 1"

8шт.

15

700150221

SUPPORT

- right

1шт.

16

700135685

SUPPORT

- right

1шт.

17

700707701

HINGE

- butt

4шт.

18

700135680

SHIELD

- right

1шт.

Выбрано товаров: 18