Запчасти Case IH RS551 (7-22) - SHIELD, LATCH AND SUPPORT ASSEMBLIES, LEFT (12) - MAIN FRAME

Схема запчастей Case IH RS551 - (7-22) - SHIELD, LATCH AND SUPPORT ASSEMBLIES, LEFT (12) - MAIN FRAME
2
15
4
5
11
2
9
16
10
12
6
9
1
4
13
9
2
9
3
2
9
2
1
2
17
2
14
8
7
FIT
1:1
100%

Артикул

Название

Примечание

Количество

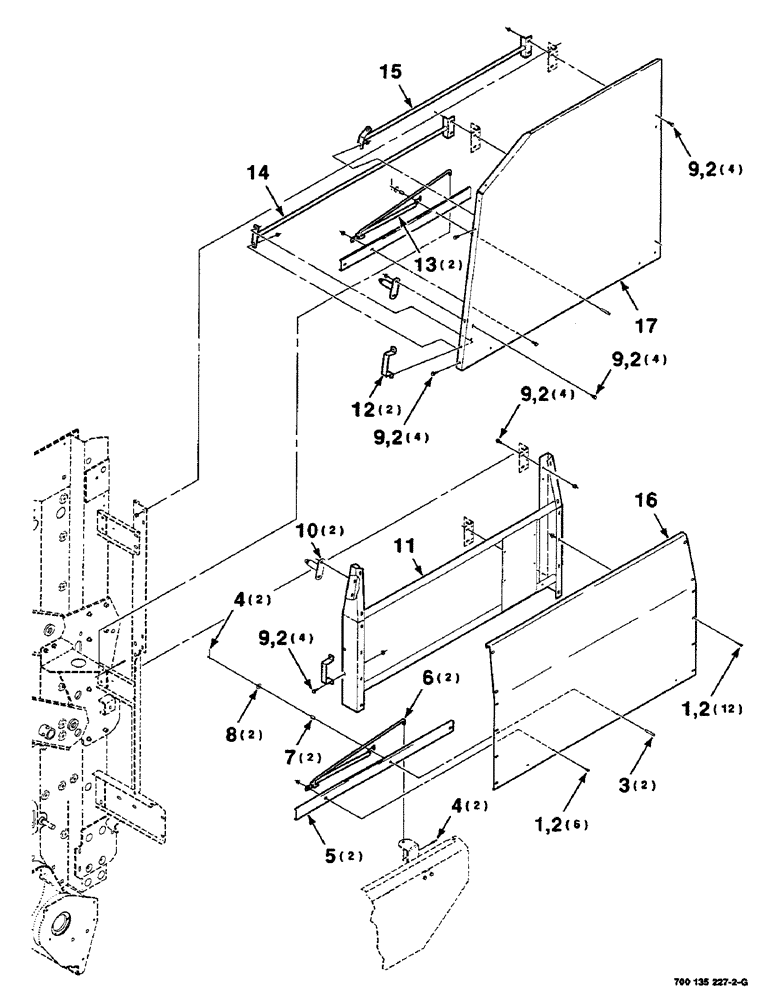
1

700701069

SCREW,Cross Pan Hd, 5/16"-18 x 3/4"

5/16-18 X 3/4 CRPHMS GR 60M

18шт.

2

704239

FRONT AXLE

5/16-18 HFSLN

38шт.

3

763565

PIN

5/16 X 2 CLEVIS PIN

2шт.

4

062075

1/8 X 3/4 COTTER PIN

4шт.

5

700132503

CHANNEL

2шт.

6

700117067

SUPPORT

2шт.

7

754606

SPRING

- compression

2шт.

8

700709602

WASHER,5/16"

5/16 WIDE PLAIN WASHER

2шт.

9

7883325

BOLT,Hex, 5/16" - 18 x 3/4", Gr 120M

5/16-18 X 3/4 HWHMS

20шт.

10

700135648

PIN

WA

2шт.

11

700150819

SHIELD

FRAME WA - left, shield (With reflector decals)

1шт.

12

700135650

HANDLE

2шт.

13

700117061

LATCH

2шт.

14

700135645

SUPPORT

WA - lower, left

1шт.

15

700135639

SUPPORT

WA - upper, left

1шт.

16

700150818

SHIELD

- lower, left (Includes decals)

1шт.

17

700135637

SHIELD

- upper, left

1шт.

Выбрано товаров: 17