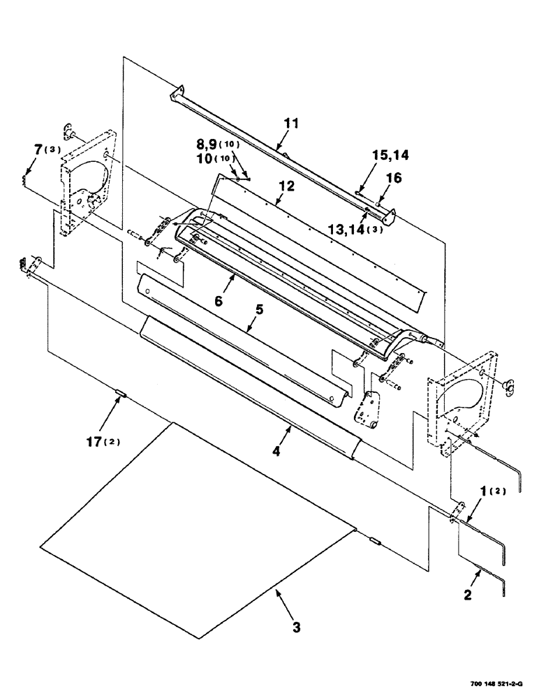
Запчасти Case IH RS551 (7-38) - MESH WRAP CARRIAGE ASSEMBLY (12) - MAIN FRAME

Схема запчастей Case IH RS551 - (7-38) - MESH WRAP CARRIAGE ASSEMBLY (12) - MAIN FRAME
1
15
11
14
16
12
10
6
4
2
7
5
17
3
9
14
8
13
FIT
1:1
100%

Артикул

Название

Примечание

Количество

1

700148744

PIN

3/8" diameter 70, Serial Range: inches-bend

2шт.

2

700148786

PIN

1/2" diameter 70, Serial Range: inches-bend

1шт.

3

700148815

PANEL

1шт.

4

700148743

PANEL

1шт.

5

700148735

PANEL

WA

1шт.

6

700148730

ARM

WA

1шт.

7

T54573

PIN

.120 WIRE HAIR PIN COTTER

3шт.

8

440-13112

SCREW,Cross Pan Hd, 5/16"-18 x 3/4"

5/16-18 X 3/4 CRPHMS GR60M

10шт.

9

232-5315

FLANGE NUT,Flg, 5/16"-18

5/16-18 HFTLN GR/G

10шт.

10

496-81010

WASHER

3/8 HARDENED WIDE PLAIN WASHER

10шт.

11

700148747

TUBE,1724 mm Length

WA

1шт.

12

700718298

SHIELD

- hold down

1шт.

13

434-616

CARRIAGE BOLT,Sht Sq Nk, 3/8" - 16 x 1", Gr 5

3/8-16 X 1 RHSNB

3шт.

14

232-5316

FLANGE NUT,Flg, 3/8"-16

3/8-16 HFTLN GR/G

4шт.

15

700711134

SCREW

3/8-16 X 1-3/4 HFS GR8

1шт.

16

6869382

SPACER

1шт.

17

700152040

SPACER

2шт.

Выбрано товаров: 17