Запчасти Case IH RS551 (6-14) - FORMING BELT ASSEMBLIES (14) - BALE CHAMBER

Схема запчастей Case IH RS551 - (6-14) - FORMING BELT ASSEMBLIES (14) - BALE CHAMBER
1
2
3
FIT
1:1
100%

Артикул

Название

Примечание

Количество

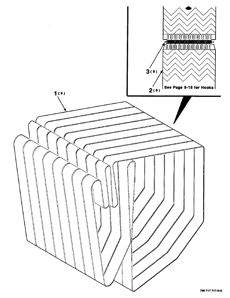
700717965

BELT,177.80 mm W x 12065.00 mm L

Forming, Endless 177.80 mm W x 12065.00 mm L

8шт.

2

700716049

BELT,177.00 mm W x 12065.00 mm L

Forming, Lacing, Replaced 700717717 177.00 mm W x 12065.00 mm L

8шт.

3

700713342

PIN

- lacing

8шт.

Выбрано товаров: 3