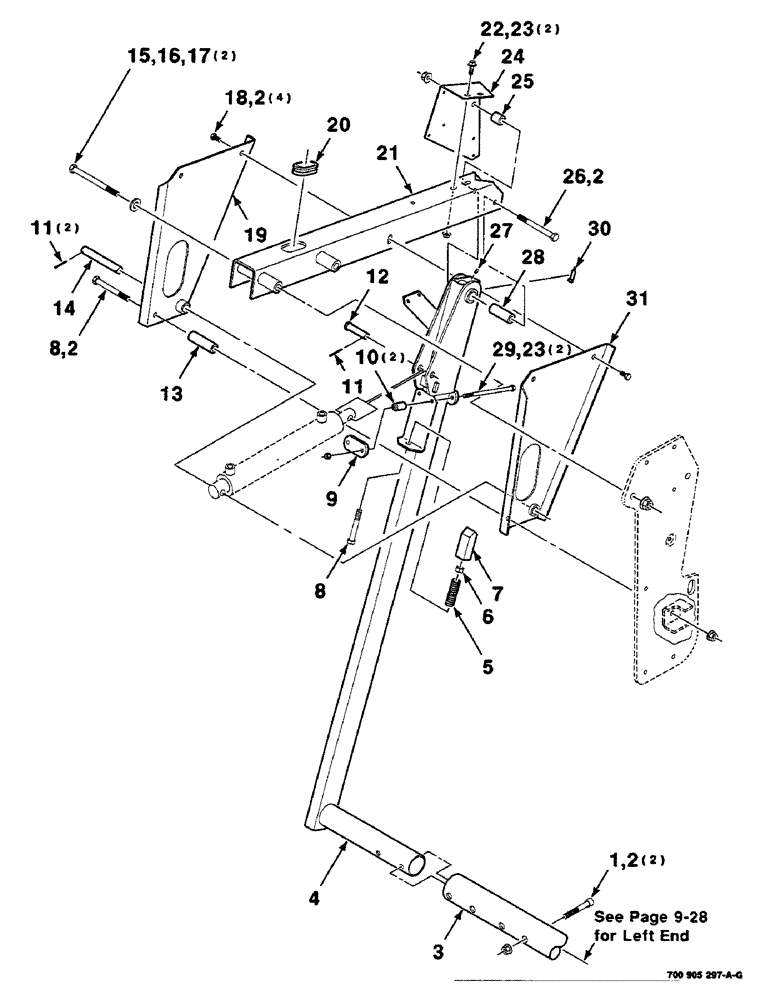
Запчасти Case IH RS551 (9-26) - BALE KICKER KIT, INCLUDES PAGES 9-26 THROUGH 9-32, HK50921 BALE KICKER KIT COMPLETE, Decals & Attachments

Схема запчастей Case IH RS551 - (9-26) - BALE KICKER KIT, INCLUDES PAGES 9-26 THROUGH 9-32, HK50921 BALE KICKER KIT COMPLETE, Decals & Attachments
13
30
22
29
11
6
9
8
26
16
21
28
7
25
2
20
14
2
12
2
4
11
17
5
24
23
27
19
2
8
31
23
15
1
3
18
10
FIT
1:1
100%

Артикул

Название

Примечание

Количество

HK50921

BALE KICKER KIT COMPLETE (Kicker kit includes pages 9-26 thru 9-32)

1шт.

1

61-35052

HEX SOC SCREW,1/2"-13 x 3 1/4"

1/2-13 X 3-1/4 HSHCS SPL

2шт.

2

231-5348

FLANGE NUT,Flg, 1/2"-13

1/2-13 HFTLN GR/G

8шт.

3

700150216

TUBE,73.02 mm OD, 1530 mm Length

- kicker

1шт.

4

700150835

STRUT

WA - right

1шт.

5

700716851

SPRING

- compression

1шт.

6

425-108

NUT,1/2" - 13, Gr 5

NUT, , Hex 1/2"-13, G5

1шт.

7

700135979

LATCH

1шт.

8

413-872

BOLT,Hex, 1/2" - 13 x 4-1/2", Gr 5

1/2-13 X 4-1/2 C

2шт.

9

700135976

PLATE

1шт.

10

700135978

SPACER

2шт.

11

432-1020

COTTER PIN,5/32" x 1 1/4"

PIN, SPLIT (COTTER), 5/32" x 1 1/4"

3шт.

12

700708068

CLEVIS PIN,15.77mm OD x 68.66mm L

5/8 X 2-1/2 CLEVIS PIN

1шт.

13

140186

ASSEMBLING ROD

1шт.

14

700132165

PIN

1шт.

15

413-10120

BOLT,Hex, 5/8" - 11 x 7-1/2", Gr 5

5/8-11 X 7-1/2 C

2шт.

16

396-21066

WASHER,16.66mm ID x 33.33mm OD x 4.27mm Thk

- 5/8" bolt size 21/32" x 1 5/16" x .150", HDN

2шт.

17

232-53110

FLANGE NUT,Flg, 5/8"-11

5/8-11 HFTLN GR/G

2шт.

18

413-816

BOLT,Hex, 1/2" - 13 x 1", Gr 5

4шт.

19

700150831

MOUNTING PARTS

CHANNEL WA - right

1шт.

20

8027427

GROMMET

1шт.

21

700150217

CHANNEL

WA - right

1шт.

22

121-226

SERRATED BOLT,Hex, 3/8" - 16 x 1"

2шт.

23

232-5316

FLANGE NUT,Flg, 3/8"-16

3/8-16 HFTLN GR/G

4шт.

24

700136057

SUPPORT

- switch

1шт.

25

6181002

SPACER

1шт.

26

413-880

BOLT,Hex, 1/2" - 13 x 5", Gr 5

1/2-13 X 5 C

1шт.

27

219-8

LUBE NIPPLE,1/4" - 28 NPTF

NIPPLE, LUBE, 1/4"-28 NPT x .54" lg

1шт.

28

700132166

SPACER

1шт.

29

413-696

BOLT,Hex, 3/8" - 16 x 6", Gr 5

3/8-16 X 6 C

2шт.

30

7889306

DECAL

- lube

1шт.

31

700150829

MOUNTING PARTS

CHANNEL WA - left

1шт.

Выбрано товаров: 32