Запчасти Case IH RS551 (2-06) - MAIN DRIVE ASSEMBLY Driveline

Схема запчастей Case IH RS551 - (2-06) - MAIN DRIVE ASSEMBLY Driveline
7
2
10
3
8
6
9
5
11
14
12
17
16
4
15
2
1
13
FIT
1:1
100%

Артикул

Название

Примечание

Количество

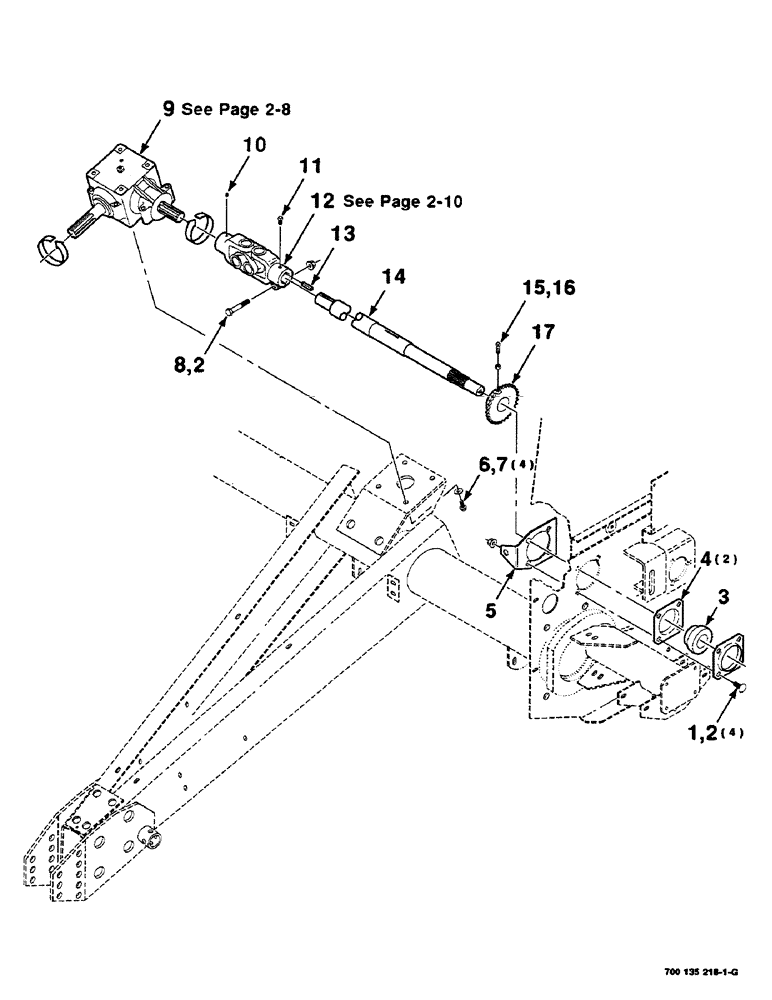
1

68619

BOLT,Round, 1/2" - 13 x 1 1/4", Grade 5

1/2-13 X 1-1/4 RHSNB

4шт.

2

704742

ROD

1/2-13 HFTLN GR/G

5шт.

3

51318

BEARING

BEARING - sphercial

1шт.

4

700716123

FLANGE

BEARING - flange

2шт.

5

700151463

SUPPORT

1шт.

6

700710984

SCREW,Hex Flg, 1/2" x 1 1/4", G8 NC

1/2-13 X 1-1/4 HFS GR8

4шт.

7

700711557

WASHER

1/2 HARDENED WIDE PLAIN WASHER

4шт.

8

7702038

SCREW,Hex, 1/2" - 13 x 3", Gr 5

1/2-13 X 3 C

1шт.

9

700717910

GEARBOX ASSY

GEARBOX ASSEMBLY

1шт.

10

77016

LUBE NIPPLE

1/4-28 ZERK

1шт.

11

69203

SET SCREW,Sq Hd, 3/8"-16 x 3/4"

3/8-16 X 3/4 CPSQHSS

1шт.

12

700718371

YOKE

U-JOINT ASSEMBLY - double

1шт.

13

6872915

KEY

5/16 X 1-1/2 KEY

1шт.

14

700150007

SHAFT

- drive

1шт.

15

69211

SET SCREW,Sq Hd, 3/8"-16 x 1"

3/8-16 X 1 CPSQHSS NP

1шт.

16

704023

NUT,3/8"-16, G5

3/8-16 H

1шт.

17

700151466

SPROCKET ASSY.

SPROCKET WA - 30 tooth

1шт.

Выбрано товаров: 0