Качественные детали и логистика
Оригинальные и аналоговые запчасти с доставкой по России, Казахстану и Беларуси
©2022 PartSell ООО "Система" ИНН 2463123282 ОГРН 1212400004838
Центральный офис: г. Красноярск, Академика Киренского, д.87, пом.4
Телефон: 8 (800) 777-65-74 Email: zakaz@partsell.ru
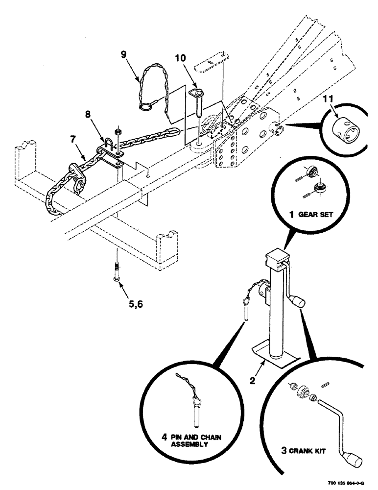
(7-02) - SAFETY CHAIN AND JACK ASSEMBLIES
№
Артикул
Название
Примечание
Количество
1
700702059
KIT
GEAR SET
1шт.
2
700709385
JACK
Assy (Incl. items 1, 3 & 4)
3
700702060
CRANKED HANDLE
CRANK KIT
4
700709409
LINK CHAIN
PIN AND CHAIN ASSEMBLY
5
413-1056
BOLT,Hex, 5/8" - 11 x 3-1/2", Gr 5
6
230-41110
LOCK NUT,5/8"-11, GA
5/8-11 HTLN GR/B
7
700705598
CHAIN (CE)
CHAIN - safety
8
700147598
CLEVIS
WA - safety
9
63768
PIN
- linch
10
700715077
- hitch
11
6227391
TUBE,2" OD, 1.88" Length
Выбрано товаров: 0