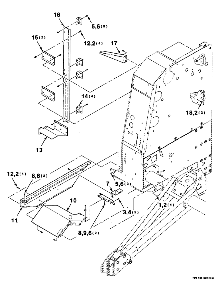
Запчасти Case IH RS551 (7-16) - SHIELD SUPPORT AND HINGE ASSEMBLIES, LEFT (12) - MAIN FRAME

Схема запчастей Case IH RS551 - (7-16) - SHIELD SUPPORT AND HINGE ASSEMBLIES, LEFT (12) - MAIN FRAME
5
17
16
12
2
9
2
8
6
15
2
7
10
6
3
13
6
6
4
1
6
14
11
2
18
8
12
FIT
1:1
100%

Артикул

Название

Примечание

Количество

1

7700065

CARRIAGE BOLT,Sq Nk, 3/8" - 16 x 3/4", Gr 5

3/8-16 X 3/4 RHSNB

4шт.

2

704734

FLANGE NUT,Flg, 3/8"-16

3/8-16 HFTLN GR/G

14шт.

3

7883275

SCREW,Hex Washer, 1/4" - 20 x 3/4"

1/4-20 X 3/4 HWHMS

2шт.

4

1703354

NUT

1/4-20 HFTLN GR/G

2шт.

5

7883325

BOLT,Hex, 5/16" - 18 x 3/4", Gr 120M

5/16-18 X 3/4 HWHMS

11шт.

6

231-5145

SERRATED NUT,Flg, USR, 5/16"-18

5/16-18 HFSLN

15шт.

7

700135634

SUPPORT

1шт.

8

7700461

CARRIAGE BOLT,Sht Sq Nk, 5/16" - 18 x 3/4", Gr 5

5/16-18 X 3/4 RHSSNB

4шт.

9

700702916

WASHER

3/8 HARDENED WIDE PLAIN WASHER

2шт.

10

700150825

SHIELD

- R

1шт.

11

700135680

SHIELD

- R

1шт.

12

7883374

SCREW,Hex Washer, 3/8" - 16 x 3/4"

3/8-16 X 3/4 HWHMS

8шт.

13

700135683

SUPPORT

- R

1шт.

14

700707701

HINGE

- butt

4шт.

15

700135628

SUPPORT

2шт.

16

700150221

SUPPORT

- R

1шт.

17

700135685

SUPPORT

- R

1шт.

18

7883382

BOLT,Hex, 3/8" - 16 x 1", Gr 120M

3/8-16 X 1 HWHMS

2шт.

Выбрано товаров: 18