Запчасти Case IH RS561 (07-002) - SAFETY CHAIN AND JACK ASSEMBLIES (12) - MAIN FRAME

Схема запчастей Case IH RS561 - (07-002) - SAFETY CHAIN AND JACK ASSEMBLIES (12) - MAIN FRAME
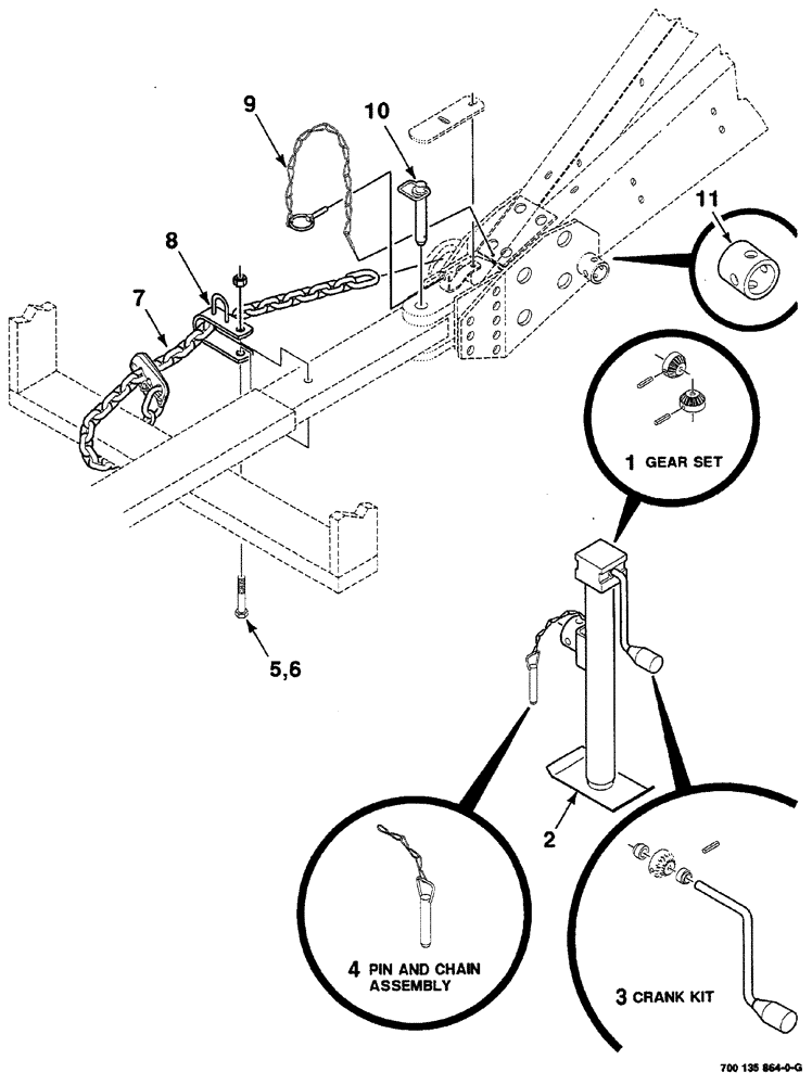
7
1
8
2
11
5
9
4
10
6
3
FIT
1:1
100%

Артикул

Название

Примечание

Количество

1

700702059

KIT

1шт.

Part of Ref. 2, part number 700709385

1шт.

2

700709385

JACK

Assy (Incl. Ref 1, 3 & 4)

1шт.

3

700702060

CRANKED HANDLE

KIT

1шт.

Part of Ref. 2, part number 700709385

1шт.

4

700709409

LINK CHAIN

AND PIN ASSEMBLY

1шт.

Part of Ref. 2, part number 700709385

1шт.

5

413-1056

BOLT,Hex, 5/8" - 11 x 3-1/2", Gr 5

1шт.

6

230-41110

LOCK NUT,5/8"-11, GA

hex top lock, 5/8-11 GR/B

1шт.

7

700705598

CHAIN (CE)

safety

1шт.

8

700147598

CLEVIS

WA safety

1шт.

9

63768

PIN

linch

1шт.

10

700715077

PIN

hitch

1шт.

11

6227391

TUBE,2" OD, 1.88" Length

jack

1шт.

Выбрано товаров: 14