Запчасти Case IH RS561 (07-004) - HITCH AND TONGUE ASSEMBLY (12) - MAIN FRAME

Схема запчастей Case IH RS561 - (07-004) - HITCH AND TONGUE ASSEMBLY (12) - MAIN FRAME
6
5
11
12
16
10
7
15
12
14
12
2
9
12
1
13
2
8
3
4
2
FIT
1:1
100%

Артикул

Название

Примечание

Количество

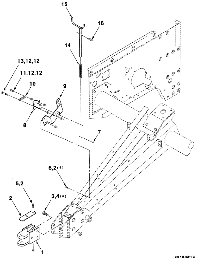
1

700147507

TRAILER HITCH

WA

1шт.

2

700132315

PLATE

6шт.

3

413-1228

BOLT,Hex, 3/4" - 10 x 1-3/4", Gr 5

6шт.

4

230-41112

LOCK NUT,3/4"-10, GA

hex top lock, 3/4-10 GR/B

6шт.

5

121-237

SERRATED BOLT,Hex, 3/8" - 16 x 1 1/4, Spcl

hex flange, 3/8-16 x 1-1/4 GR. 8

1шт.

6

434-616

CARRIAGE BOLT,Sht Sq Nk, 3/8" - 16 x 1", Gr 5

4шт.

7

38-11218

LOCK PIN,3/16" x 1 1/8", Slotted

3/16" x 1 1/8", Slotted

1шт.

8

700150002

LEVER

WA

1шт.

9

700150000

SUPPORT

WA

1шт.

10

700717555

SPRING

extension

1шт.

11

413-824

BOLT,Hex, 1/2" - 13 x 1-1/2", Gr 5

1шт.

12

425-108

NUT,1/2" - 13, Gr 5

4шт.

13

413-840

BOLT,Hex, 1/2" - 13 x 2-1/2", Gr 5

SCREW hex cap, 1/2-13 x 2-1/2

1шт.

14

700716448

SPRING

compression

1шт.

15

700135760

ROD

WA

1шт.

16

062455

PIN, SPLIT (COTTER)

PIN, COTTER wire hair, .178

1шт.

Выбрано товаров: 16