Запчасти Case IH RS561 (07-014) - SHIELD ASSEMBLIES (FRONT) (S.N. CFH0156400 AND LATER) (12) - MAIN FRAME

Схема запчастей Case IH RS561 - (07-014) - SHIELD ASSEMBLIES (FRONT) (S.N. CFH0156400 AND LATER) (12) - MAIN FRAME
13
5
1
8
8
15
4
7
11
16
8
9
10
8
14
12
3
7
2
7
6
FIT
1:1
100%

Артикул

Название

Примечание

Количество

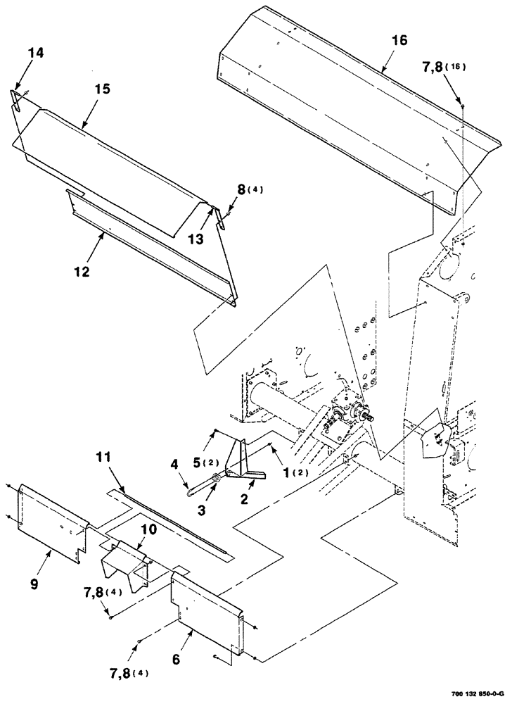
1

232-5315

FLANGE NUT,Flg, 5/16"-18

hex flange top lock, 5/16-18 GR/G

2шт.

2

700135586

GUIDE

WA

1шт.

3

7745003

GUIDE

1шт.

4

51200861

U-BOLT

1шт.

5

281-34912

SELF-TAP SCREW,Hex Washer, 3/8" - 16 x 3/4"

hex washer head thread cutting tapping, 3/8-16 x 3/4

2шт.

6

700135587

SHIELD

left

1шт.

7

409-7612

BOLT,3/8"-16 x 1.09" OAL

24шт.

8

232-5316

FLANGE NUT,Flg, 3/8"-16

hex flange top lock, 3/8-16 GR/G

28шт.

9

700135589

SHIELD

right

1шт.

10

700135592

SHIELD

1шт.

11

700135613

ROD

1шт.

12

700132983

PANEL

1шт.

13

700132757

HINGE

WA left

1шт.

14

700132758

HINGE

WA right

1шт.

15

700132760

SHIELD

1шт.

16

700150143

SUPPORT

upper

1шт.

Выбрано товаров: 16