Запчасти Case IH RS561 (07-048) - MESH WRAP ROLLER ASSEMBLIES (12) - MAIN FRAME

Схема запчастей Case IH RS561 - (07-048) - MESH WRAP ROLLER ASSEMBLIES (12) - MAIN FRAME
8
2
12
17
16
21
13
22
7
17
19
18
11
19
20
14
1
5
6
16
9
4
10
3
15
FIT
1:1
100%

Артикул

Название

Примечание

Количество

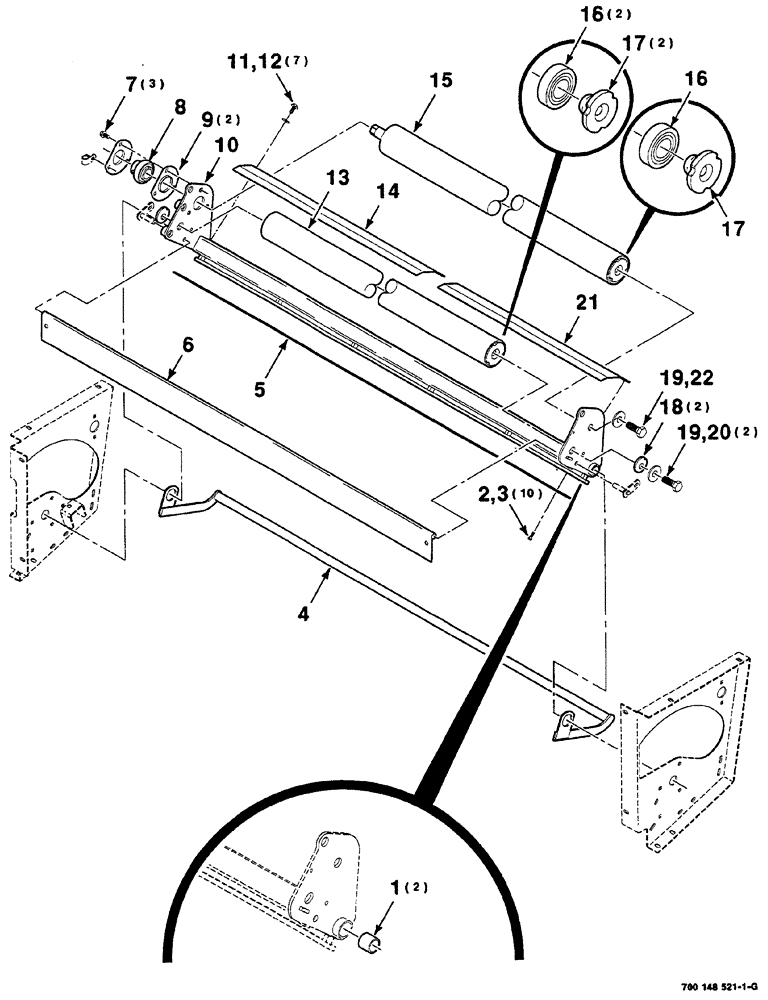
1

7852254

BRONZE BUSHING

2шт.

2

51200165

SCREW,Hex, 1/4"-20 x 1", G5

hex cap, 1/4-20 x 1

10шт.

3

1703354

NUT

hex flange top lock, 1/4-20 GR/G

10шт.

4

700148745

ARM

WA

1шт.

5

700717216

KNIFE

1шт.

6

700148741

PANEL

1шт.

7

409-7612

BOLT,3/8"-16 x 1.09" OAL

3шт.

8

50336

SHIELD,3.75 mm ID x 62 mm OD x 16, 48.41 mm

spherical

1шт.

9

405696

FLANGE

special

2шт.

10

700148727

FRAME

WA (Includes: Ref. 1)

1шт.

11

281-34912

SELF-TAP SCREW,Hex Washer, 3/8" - 16 x 3/4"

hex washer head thread cutting tapping, 3/8-16 x 3/4

7шт.

12

496-81010

WASHER

hardened wide plain, 3/8

7шт.

13

700148738

ROLLER

ASSEMBLY plated (Includes: Ref. 16 and 17)

1шт.

14

700152039

SHIELD

right

1шт.

15

700148739

ROLLER

ASSEMBLY rubber (Includes: Ref. 16 and 17)

1шт.

16

8050825

BEARING, ROLLER, CYL,38.1 mm ID x 80 mm OD x 30.163 mm

cylindrical

3шт.

Part of ASSEMBLIES, part numbers 700148738 & 700148739

1шт.

17

700100927

HUB

3шт.

Part of ASSEMBLIES, part numbers 700148738 & 700148739

1шт.

18

700148648

WASHER

adjustment

2шт.

19

413-1232

BOLT,Hex, 3/4" - 10 x 2", Gr 5

3шт.

20

705566

WASHER

hardened plain, 3/4

2шт.

21

700152038

SHIELD

left

1шт.

22

700711166

WASHER

hardened wide plain, 3/4

1шт.

Выбрано товаров: 24