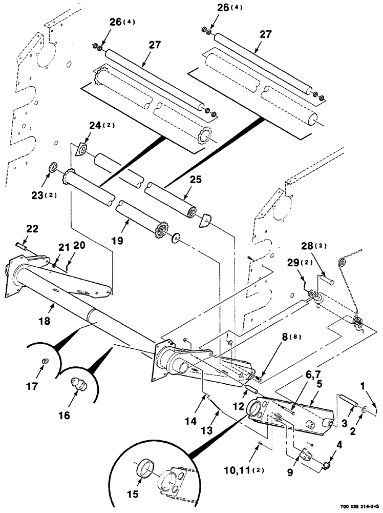
Запчасти Case IH RS561 (06-012) - BALE TENSIONING ROLLER ASSEMBLY (S.N. CFH0156001 THRU CFH0156399) (13) - FEEDER

Схема запчастей Case IH RS561 - (06-012) - BALE TENSIONING ROLLER ASSEMBLY (S.N. CFH0156001 THRU CFH0156399) (13) - FEEDER
19
12
8
15
6
11
16
4
5
26
3
2
21
1
18
20
27
24
22
23
29
26
27
17
7
13
14
10
25
28
9
FIT
1:1
100%

Артикул

Название

Примечание

Количество

1

432-1228

COTTER PIN,3/16" x 1 3/4"

1шт.

2

705574

WASHER,1 1/8" x 2" x .156", HDN

1шт.

3

700135516

PIN

1шт.

4

700707437

COUNTER

BALE

1шт.

5

700135511

SUPPORT

WA outer, lower (Includes: Ref. 15)

1шт.

6

413-880

BOLT,Hex, 1/2" - 13 x 5", Gr 5

SCREW hex cap, 1/2-13 x 5

1шт.

7

231-5348

FLANGE NUT,Flg, 1/2"-13

hex flange top lock, 1/2-13 GR/G

1шт.

8

700707981

SCREW,FLAT, 3/4" - 10 x 1-3/4"

hex socket flat countersunk head cap, 3/4-10 x 1-3/4

8шт.

9

700150222

PLATE

1шт.

10

409-7612

BOLT,3/8"-16 x 1.09" OAL

2шт.

11

232-5316

FLANGE NUT,Flg, 3/8"-16

hex flange top lock, 3/8-16 GR/G

2шт.

12

700135518

TUBE,0.562" ID, 25.4 mm OD, 102 mm Length

1шт.

13

700716222

SPRING

extension

1шт.

14

432-824

COTTER PIN,1/8" x 1 1/2"

1шт.

15

700716063

BUSHING

bronze

1шт.

Part of Ref. 5, part number,700135511

1шт.

16

219-8

LUBE NIPPLE,1/4" - 28 NPTF

1шт.

17

69500

SET SCREW

cup point hex socket, 1/4-28 NP

1шт.

18

700135493

ARM

WA lower

1шт.

19

700150042

ROLLER

ASSEMBLY (Includes: Ref. 26 & 27)

1шт.

20

432-1020

COTTER PIN,5/32" x 1 1/4"

1шт.

21

396-21066

WASHER,16.66mm ID x 33.33mm OD x 4.27mm Thk

5/8" bolt size

1шт.

22

700716026

PIN

clevis, 5/8-2-1/4

1шт.

23

700150040

WASHER

WA special

2шт.

24

700150036

GUIDE

WA

2шт.

25

700150043

ROLLER

ASSEMBLY (Includes: Ref. 26 & 27)

1шт.

26

8050825

BEARING, ROLLER, CYL,38.1 mm ID x 80 mm OD x 30.163 mm

cylindrical

8шт.

Part of Ref. 19 & 25, part numbers, 700150042, 700150043

1шт.

27

700150048

SHAFT

2шт.

Part of Ref. 19 & 25, part numbers, 700150042, 700150043

1шт.

28

700710292

PIN

2шт.

29

432-1624

COTTER PIN,1/4" x 1 1/2"

2шт.

Выбрано товаров: 32