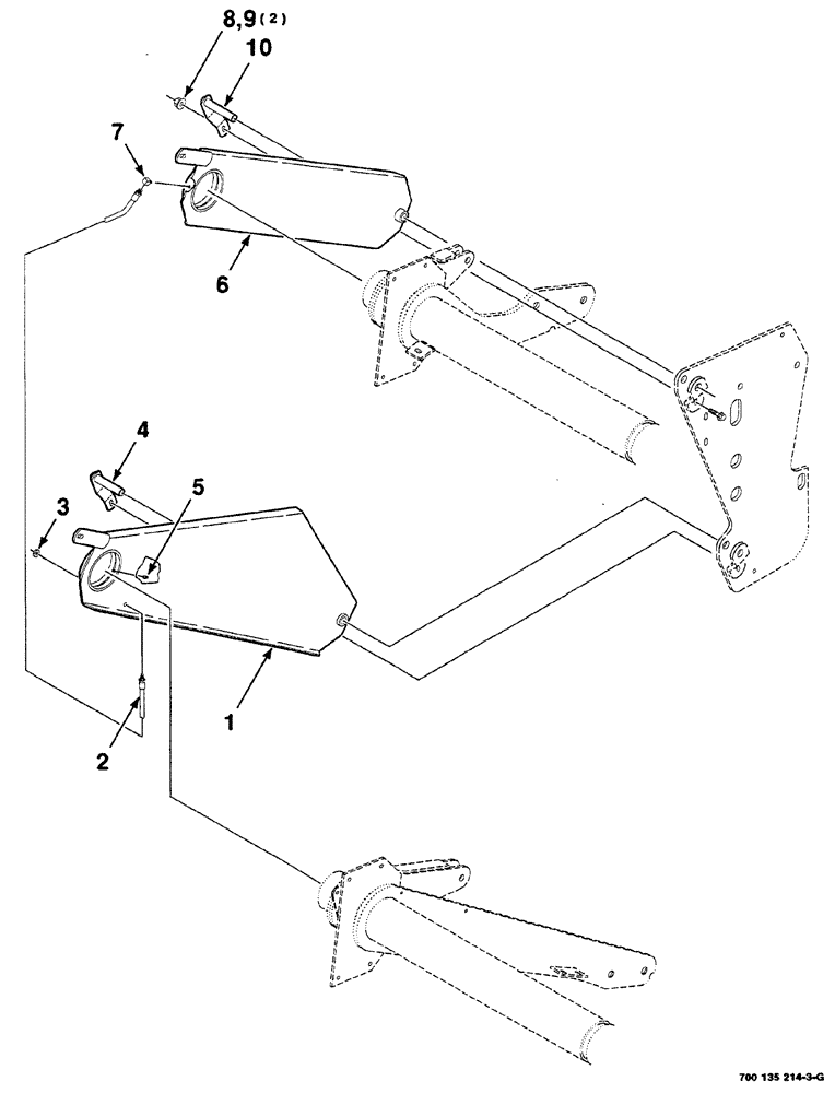
Запчасти Case IH RS561 (06-020) - TENSIONING MOUNTING ASSEMBLY (RIGHT) (S.N. CFH0156001 THRU CFH0156399) (13) - FEEDER

Схема запчастей Case IH RS561 - (06-020) - TENSIONING MOUNTING ASSEMBLY (RIGHT) (S.N. CFH0156001 THRU CFH0156399) (13) - FEEDER
4
2
6
3
5
1
7
9
10
8
FIT
1:1
100%

Артикул

Название

Примечание

Количество

1

700153656

SUPPORT

WA R, lower

1шт.

2

700713418

HOSE,0.14" ID x 41.00"

Lube

1шт.

3

700713413

NUT

1/8-27 NPSM

1шт.

4

700132870

SPECIAL PIN

WA

1шт.

5

219-8

LUBE NIPPLE,1/4" - 28 NPTF

1шт.

6

700153655

SUPPORT

WA R, upper

1шт.

7

219-402

ADAPTER,90 Degree, 1/4"-1/8 NPTF

CONNECTOR, ELBOW-90°

1шт.

8

700711084

BOLT

SCREW hex flange, 3/8-16 x 1-1/2 GR. 8

2шт.

9

232-5316

FLANGE NUT,Flg, 3/8"-16

hex flange top lock, 3/8-16 GR/G

2шт.

10

700132954

SPECIAL PIN

WA

1шт.

Выбрано товаров: 10