Качественные детали и логистика
Оригинальные и аналоговые запчасти с доставкой по России, Казахстану и Беларуси
©2022 PartSell ООО "Система" ИНН 2463123282 ОГРН 1212400004838
Центральный офис: г. Красноярск, Академика Киренского, д.87, пом.4
Телефон: 8 (800) 777-65-74 Email: zakaz@partsell.ru
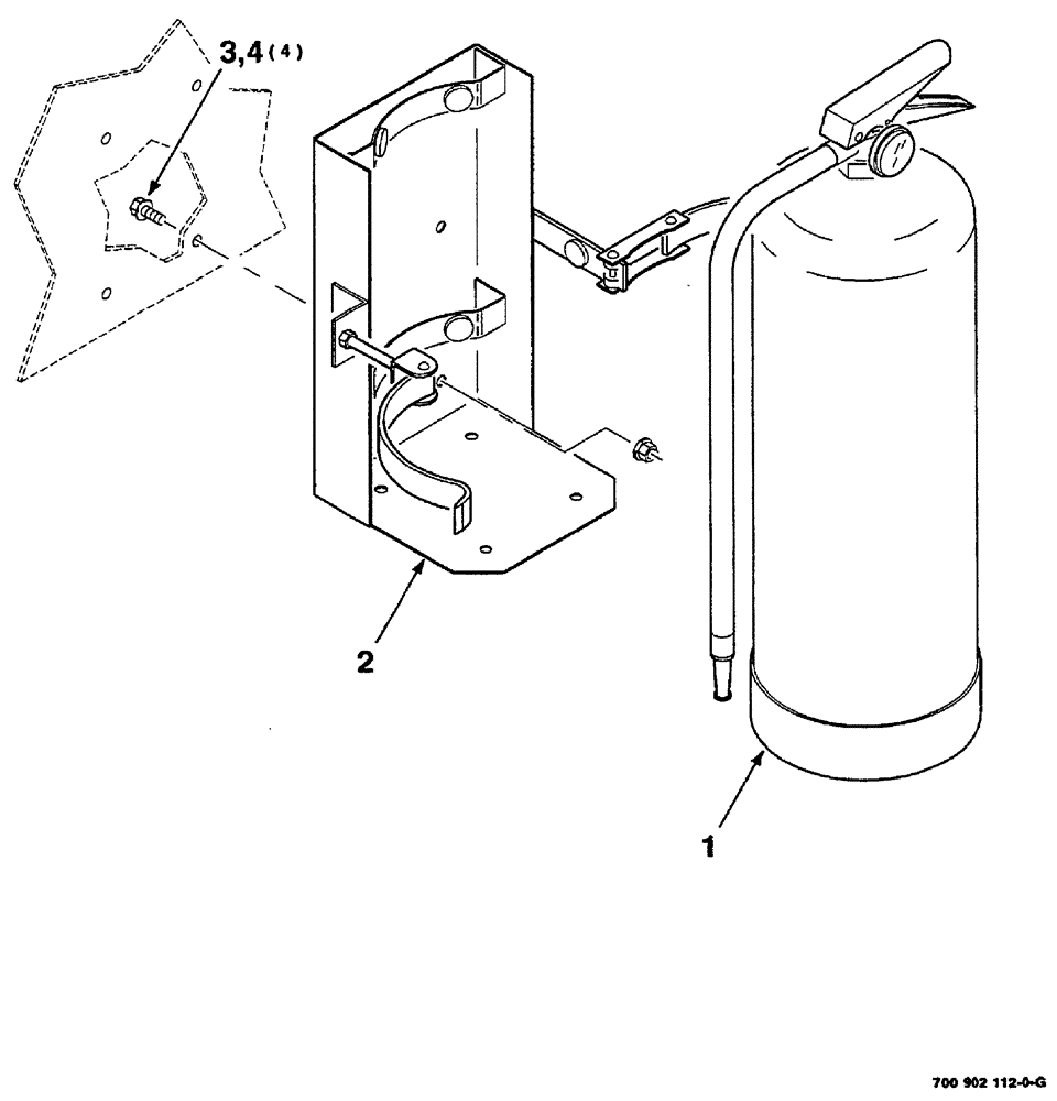
(09-014) - FIRE EXTINGUISHER KIT (TO BE ORDERED THRU WHOLEGOODS ONLY)
№
Артикул
Название
Примечание
Количество
HK50556
KIT fire extinguisher, complete
1шт.
1
700709200
FIRE EXTINGUISHER
2
700709201
BRACKET
mounting
3
121-115
SERRATED BOLT,Hex, 5/16" - 18 x 3/4"
4шт.
4
231-5145
SERRATED NUT,Flg, USR, 5/16"-18
Выбрано товаров: 0