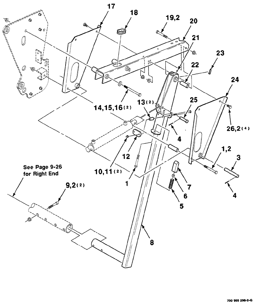
Запчасти Case IH RS561 (09-028) - BALE KICKER KIT Decals & Attachments

Схема запчастей Case IH RS561 - (09-028) - BALE KICKER KIT Decals & Attachments
2
10
25
16
3
17
5
11
24
23
14
13
1
22
18
2
19
1
2
8
6
7
12
26
4
9
15
21
4
2
20
FIT
1:1
100%

Артикул

Название

Примечание

Количество

1

413-872

BOLT,Hex, 1/2" - 13 x 4-1/2", Gr 5

SCREW hex cap, 1/2-13 x 4-1/2

2шт.

2

231-5348

FLANGE NUT,Flg, 1/2"-13

hex flange top lock, 1/2-13 GR/G

8шт.

3

700132165

PIN

1шт.

4

432-1020

COTTER PIN,5/32" x 1 1/4"

2шт.

5

700716851

SPRING

compression

1шт.

6

425-108

NUT,1/2" - 13, Gr 5

1шт.

7

700135979

LATCH

1шт.

8

700150833

STRUT

WA left

1шт.

9

61-35052

HEX SOC SCREW,1/2"-13 x 3 1/4"

hex socket head cap, special, 1/2-13 x 3-1/4

2шт.

10

413-696

BOLT,Hex, 3/8" - 16 x 6", Gr 5

hex, 3/8-16 x 6

2шт.

11

232-5316

FLANGE NUT,Flg, 3/8"-16

hex flange top lock, 3/8-16 GR/G

2шт.

12

700135976

PLATE

1шт.

13

700135978

SPACER

2шт.

14

413-10120

BOLT,Hex, 5/8" - 11 x 7-1/2", Gr 5

hex, 5/8-11 x 7-1/2

2шт.

15

396-21066

WASHER,16.66mm ID x 33.33mm OD x 4.27mm Thk

5/8" bolt size

2шт.

16

232-53110

FLANGE NUT,Flg, 5/8"-11

2шт.

17

700150831

MOUNTING PARTS

channel WA right

1шт.

18

8027427

GROMMET

1шт.

19

413-860

BOLT,Hex, 1/2" - 13 x 3-3/4", Gr 5

1шт.

20

700150218

CHANNEL

WA left

1шт.

21

219-8

LUBE NIPPLE,1/4" - 28 NPTF

1шт.

22

700132166

SPACER

1шт.

23

7889306

DECAL

lube

1шт.

24

700150829

MOUNTING PARTS

channel WA left

1шт.

25

700708068

CLEVIS PIN,15.77mm OD x 68.66mm L

5/8" x 2-1/2 "

1шт.

26

413-816

BOLT,Hex, 1/2" - 13 x 1", Gr 5

4шт.

Выбрано товаров: 26