Запчасти Case IH RS561 (09-038) - RIENK KIT (S.N. CFH0156001 THRU CFH0156399) (TO BE ORDERED THRU WHOLEGOODS ONLY) Decals & Attachments

Схема запчастей Case IH RS561 - (09-038) - RIENK KIT (S.N. CFH0156001 THRU CFH0156399) (TO BE ORDERED THRU WHOLEGOODS ONLY) Decals & Attachments
17
9
7
18
11
6
18
15
10
12
4
1
13
16
19
7
5
14
3
2
8
FIT
1:1
100%

Артикул

Название

Примечание

Количество

1

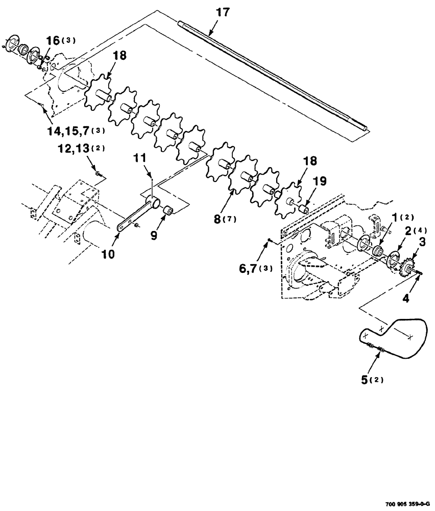
51292

SPHERICAL BEARING,1.25" ID x 72 mm OD x 19 mm

spherical

2шт.

2

617863R1

FLANGED BEARING

4шт.

3

700135180

SPROCKET ASSY.

WA 15 tooth

1шт.

4

249-1

KEY

gib, 1/4 x 1-3/4

1шт.

5

241-1718

LINK,25.4mm Pitch

offset, #80 R/C

2шт.

6

433-620

CARRIAGE BOLT,Sq Nk, 3/8" - 16 x 1 1/4", Gr 5

3шт.

7

231-4116

NUT,3/8"-16, GB

hex top lock, 3/8-16 GR/B

6шт.

8

700132995

WHEEL

REINK WA

7шт.

9

700726045

BUSHING,32.8 mm ID x 50.8 mm OD x 38 mm

delrin

1шт.

10

700153659

SUPPORT

WA

1шт.

11

219-8

LUBE NIPPLE,1/4" - 28 NPTF

1шт.

12

8701237

BOLT

SCREW hex flange, 1/2-13 x 1-1/2 GR. 8

2шт.

13

231-5348

FLANGE NUT,Flg, 1/2"-13

hex flange top lock, 1/2-13 GR/G

2шт.

14

433-628

CARRIAGE BOLT,Sq Nk, 3/8" - 16 x 1 3/4", Gr 5

round head square neck, 3/8-16 x 1-3/4

3шт.

15

705541

WASHER,0.53" ID x 1.06" OD x 0.14" Thk

hardened plain, 1/2

3шт.

16

700135179

SPACER

3шт.

17

700151477

SHAFT

hex

1шт.

18

700151528

WHEEL

REINK WA outer

2шт.

19

700150196

SPACER

1шт.

Выбрано товаров: 19