Запчасти Case IH RS561 (02-020) - CLUTCH ASSEMBLY Driveline

Схема запчастей Case IH RS561 - (02-020) - CLUTCH ASSEMBLY Driveline
4
14
16
5
9
13
1
14
13
3
12
11
3
8
6
7
2
5
10
2
1
15
17
FIT
1:1
100%

Артикул

Название

Примечание

Количество

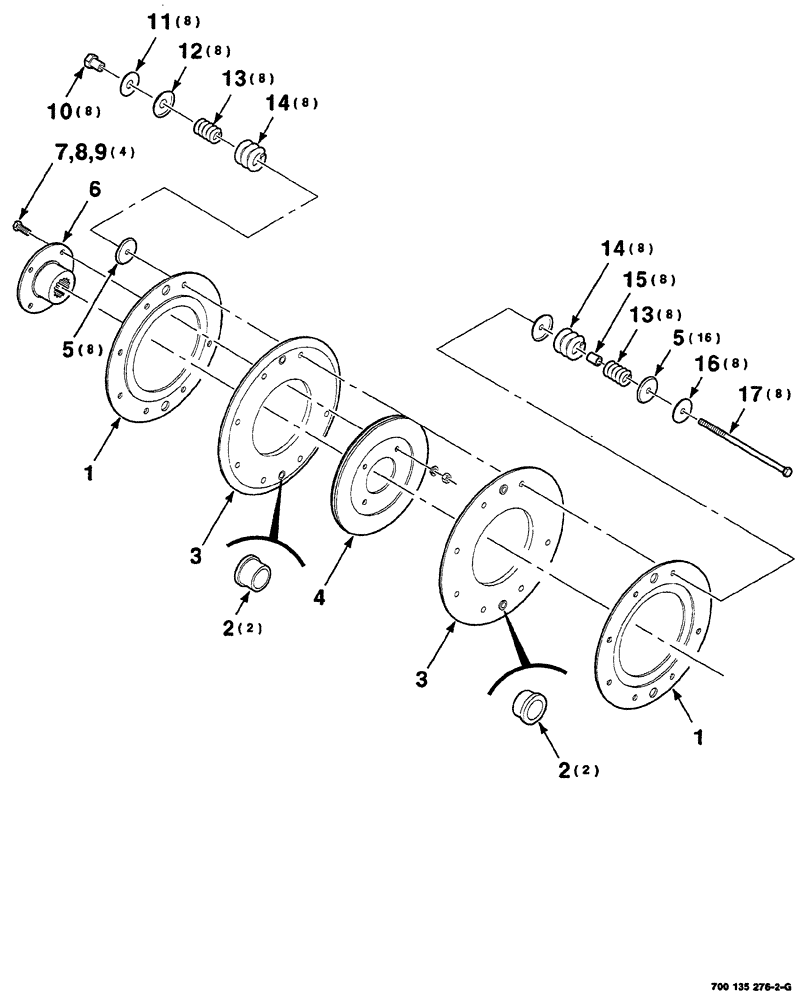
1

700127888

DISC

compression

2шт.

2

700713280

BUSHING

shouldered

4шт.

Part of Ref. 3, part number 700127884

1шт.

3

700127884

DISC

ASSEMBLY (Includes: Ref. 2)

2шт.

4

700711087

DISC

friction

1шт.

5

700150204

RETAINER

24шт.

6

700150205

HUB

WA

1шт.

7

413-616

BOLT,Hex, 3/8" - 16 x 1", Gr 5

4шт.

8

492-11038

LOCK WASHER,3/8"

4шт.

9

425-106

NUT,3/8"-16, Cl 5

4шт.

10

700150207

SPECIAL NUT

shoulder, 3/8-16

8шт.

11

495-21069

WASHER,5/8"

wide plain, 5/8

8шт.

12

700150209

RETAINER

8шт.

13

700717208

SPRING

compression

16шт.

14

700717209

SPRING

compression

16шт.

15

700129257

SPACER

8шт.

16

51200237

WASHER

special

8шт.

17

700717711

BOLT

SCREW hex cap, special, 3/8-16 x 5

8шт.

Выбрано товаров: 0