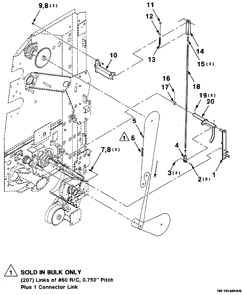
Запчасти Case IH RS561 (02-048) - DE-CLUTCH LINKAGE ASSEMBLY S.N. CFH0156400 AND LATER Driveline

Схема запчастей Case IH RS561 - (02-048) - DE-CLUTCH LINKAGE ASSEMBLY S.N. CFH0156400 AND LATER Driveline
13
12
6
11
17
8
8
1
3
19
16
10
7
14
5
4
20
2
15
18
9
FIT
1:1
100%

Артикул

Название

Примечание

Количество

1

700135551

SUPPORT

WA

1шт.

2

700708652

CLEVIS PIN

1/2 x 1-27/64"

2шт.

3

432-1016

COTTER PIN,5/32" x 1"

5/32" x 1"

2шт.

4

66183

SHAFT

1шт.

5

241-1316

LINK,19.05mm Pitch

connector, #60 R/C

1шт.

6

611362R91

CHAIN (AG)

roller, #60 (10 foot bulk)

1шт.

7

121-226

SERRATED BOLT,Hex, 3/8" - 16 x 1"

2шт.

8

232-5316

FLANGE NUT,Flg, 3/8"-16

hex flange top lock, 3/8-16 GR/G

4шт.

9

409-7612

BOLT,3/8"-16 x 1.09" OAL

2шт.

10

700135561

LEVER

WA

1шт.

11

230-4118

LOCK NUT,1/2"-13, GA

hex top lock, 1/2-13 GR/B

1шт.

12

705541

WASHER,0.53" ID x 1.06" OD x 0.14" Thk

hardened plain, 1/2

1шт.

13

858027

COMPRESSION SPRING

1шт.

14

700132453

CLEVIS

1шт.

15

425-108

NUT,1/2" - 13, Gr 5

3шт.

16

483-1316

SET SCREW,Hex Soc, 5/16"-18 x 3/8"

cup point hex socket set, 5/16-18 x 3/8 NP

1шт.

17

700135187

COLLAR

1шт.

18

700135549

ROD

1шт.

19

219-8

LUBE NIPPLE,1/4" - 28 NPTF

2шт.

20

700135557

LEVER

WA

1шт.

Выбрано товаров: 20