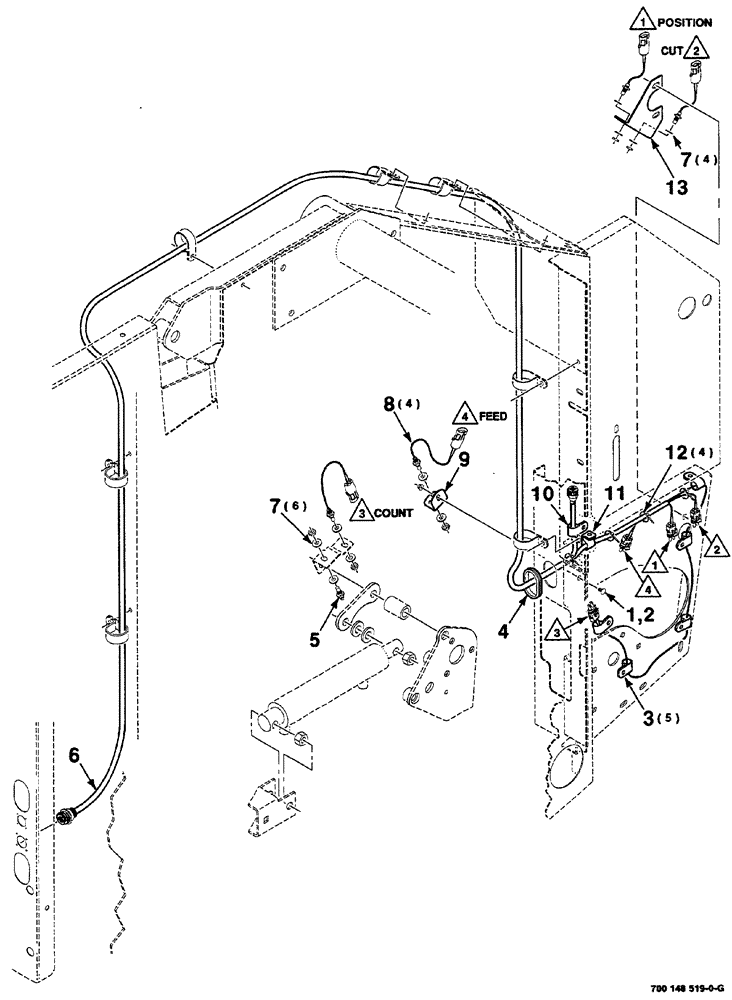
Запчасти Case IH RS561 (04-020) - ELECTRICAL ASSEMBLY (MESH WRAP) (06) - ELECTRICAL

Схема запчастей Case IH RS561 - (04-020) - ELECTRICAL ASSEMBLY (MESH WRAP) (06) - ELECTRICAL
10
4
11
3
8
2
13
7
12
6
1
5
7
9
FIT
1:1
100%

Артикул

Название

Примечание

Количество

1

434-612

CARRIAGE BOLT,Sht Sq Nk, 3/8" - 16 x 3/4", Gr 5

round head short square neck, 3/8-16 x 3/4

1шт.

2

232-5316

FLANGE NUT,Flg, 3/8"-16

hex flange top lock, 3/8-16 HFTLN GR/G

1шт.

3

515-2395

CLAMP,3/8", Insul, 3/8" Bolt

5шт.

4

8027427

GROMMET

1шт.

5

700710211

ACTUATOR

ACTUATOR

1шт.

6

700717415

HARNESS

wire, mesh wrap

1шт.

7

496-11041

WASHER,13/32" x 13/16" x .065", HDN

hardened plain, 3/8

10шт.

8

700119161

SWITCH

ASSEMBLY

4шт.

9

700148803

MOUNTING PARTS

SWITCH

1шт.

10

515-23190

CLAMP,3/4", Insul, 3/8" Bolt

1шт.

11

CAS755777

CLAMP

1шт.

12

306132C1

CABLE TIE,14.5" L

CABLE STRAP TIE clamp

4шт.

13

700148802

MOUNTING PARTS

SWITCH

1шт.

Выбрано товаров: 13