Запчасти Case IH RS561 (08-046) - MANIFOLD ASSEMBLY (THREADER) (07) - HYDRAULICS

Схема запчастей Case IH RS561 - (08-046) - MANIFOLD ASSEMBLY (THREADER) (07) - HYDRAULICS
4
2
5
3
6
1
FIT
1:1
100%

Артикул

Название

Примечание

Количество

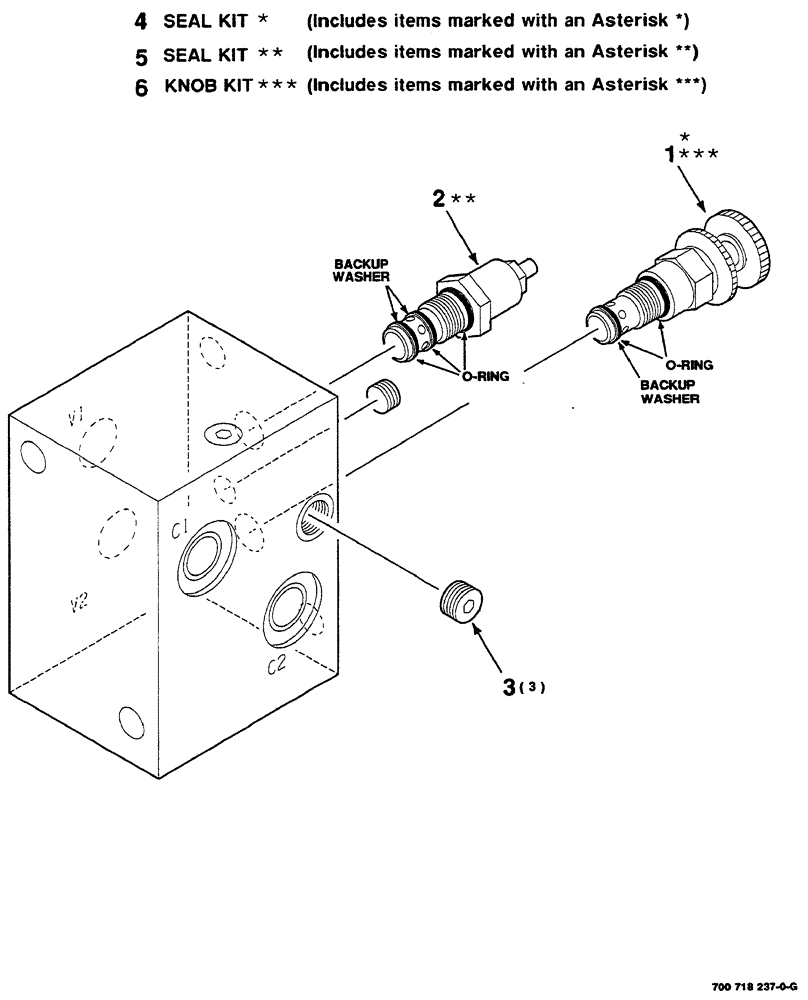
700718237

MANIFOLD

ASSEMBLY threader

1шт.

1

700715655

VALVE

flow control

1шт.

2

700715654

VALVE

counterbalance

1шт.

3

700707840

PLUG

SAE, 6T

3шт.

4

700715663

KIT

seal

1шт.

5

700715665

KIT

seal

1шт.

6

700715660

KNOB

KIT

1шт.

Выбрано товаров: 7