Запчасти Case IH RS561A (6-028) - REINK ASSEMBLY (14) - BALE CHAMBER

Схема запчастей Case IH RS561A - (6-028) - REINK ASSEMBLY (14) - BALE CHAMBER
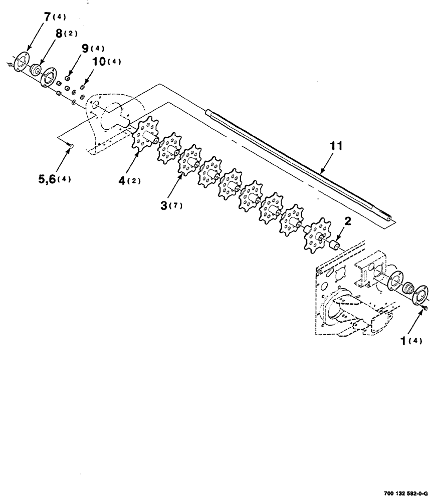
4
9
6
7
1
8
5
2
10
3
11
FIT
1:1
100%

Артикул

Название

Примечание

Количество

1

700710984

SCREW,Hex Flg, 1/2" x 1 1/4", G8 NC

4шт.

2

700132978

SPACER

1шт.

3

700132973

CASTING

WA, inner, REINK

7шт.

4

700132970

CASTING

WA, outer, REINK

2шт.

5

433-832

CARRIAGE BOLT,Sq Nk, 1/2" - 13 x 2", Gr 5

1/2"-13 x 2", round head square neck bolt

4шт.

6

231-5348

FLANGE NUT,Flg, 1/2"-13

1/2"-13, hex. flange top lock, GR/G

4шт.

7

663562R1

FLANGE

80 mm

4шт.

8

50468

SPHERICAL BEARING,38.1 mm ID x 80 mm OD x 22, 43.66 mm

2шт.

9

6507388

SPACER

4шт.

10

396-21066

WASHER,16.66mm ID x 33.33mm OD x 4.27mm Thk

5/8" bolt size

4шт.

11

700132989

SHAFT

hex.

1шт.

Выбрано товаров: 11