Запчасти Case IH RS561A (4-008) - ELECTRICAL ASSEMBLY.PTO SENSOR (06) - ELECTRICAL

Схема запчастей Case IH RS561A - (4-008) - ELECTRICAL ASSEMBLY.  PTO SENSOR (06) - ELECTRICAL
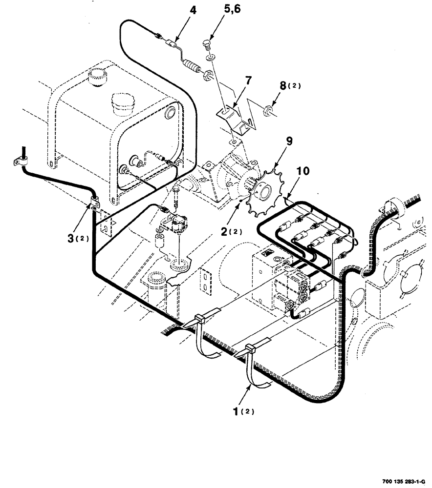
7
1
2
9
6
10
8
5
3
4
FIT
1:1
100%

Артикул

Название

Примечание

Количество

1

386170C1

CABLE TIE,.30" x 27 1/2"

CABLE STRAP TIE

2шт.

2

83-1256

SET SCREW,Hex Soc, 1/4"-20 x 3/8"

1/4"-20 x 3/4", cup point hex. socket set

2шт.

3

515-23190

CLAMP,3/4", Insul, 3/8" Bolt

2шт.

4

700706398

SENSOR

PTO

1шт.

5

413-812

BOLT,Hex, 1/2" - 13 x 3/4", Gr 5

1/2"-13 x 3/4", hex. cap screw

1шт.

6

705541

WASHER,0.53" ID x 1.06" OD x 0.14" Thk

1/2", hardened, plain

1шт.

7

700132721

SUPPORT

1шт.

8

425-1512

JAM NUT,Jam, 3/4"-10, G5

3/4"-16, HJN, GR2

2шт.

9

700132764

PLATE

WA

1шт.

10

7021728

STRAP

TIE

1шт.

Выбрано товаров: 10