Запчасти Case IH RS561A (8-044) - HYDRAULIC CYLINDER ASSEMBLY,MESH WRAP,700712122 COMPLETE (07) - HYDRAULICS

Схема запчастей Case IH RS561A - (8-044) - HYDRAULIC CYLINDER ASSEMBLY,  MESH WRAP,  700712122 COMPLETE (07) - HYDRAULICS
*
2
*
3
*
4
*
*
6
1
5
*
*
*
*
FIT
1:1
100%

Артикул

Название

Примечание

Количество

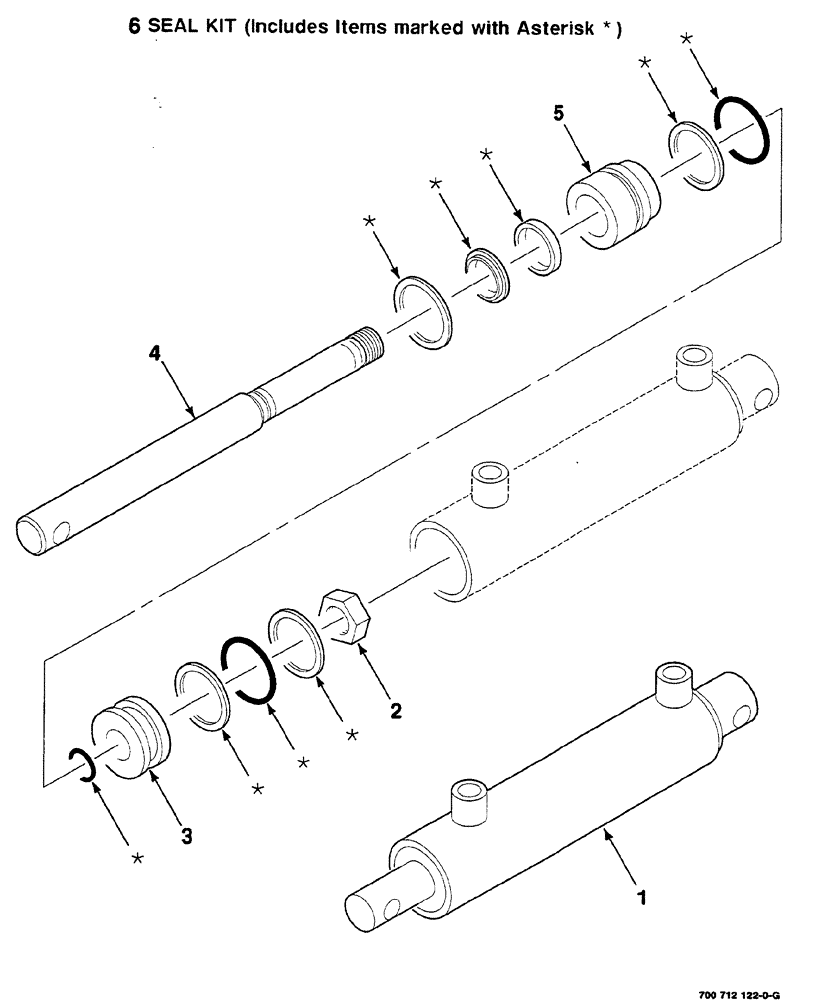
1

700712122

CYLINDER

ASSY., hydraulic, complete, 2 in. bore diameter x 8 in. stroke

1шт.

2

700707418

JAM NUT

7/8"-14, hex jam

1шт.

3

700707419

PISTON

1шт.

4

700709465

ROD

1шт.

5

700711112

GUIDE

rod

1шт.

6

700711114

SEAL KIT

seal and o-ring repair, Includes items in art marked with asterisk

1шт.

Выбрано товаров: 6