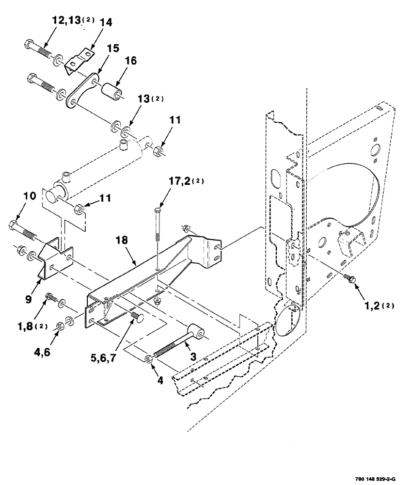
Запчасти Case IH RS561A (8-046) - HYDRAULIC CYLINDER MOUNTING ASSEMBLY,MESH WRAP (07) - HYDRAULICS

Схема запчастей Case IH RS561A - (8-046) - HYDRAULIC CYLINDER MOUNTING ASSEMBLY,  MESH WRAP (07) - HYDRAULICS
2
2
15
12
1
17
18
10
9
11
14
1
16
13
5
4
13
6
4
6
8
7
3
11
FIT
1:1
100%

Артикул

Название

Примечание

Количество

1

121-226

SERRATED BOLT,Hex, 3/8" - 16 x 1"

4шт.

2

232-5316

FLANGE NUT,Flg, 3/8"-16

3/8"-16, hex. flange top lock, GR/G

4шт.

3

700148800

SPECIAL BOLT

draw, WA

1шт.

4

425-108

NUT,1/2" - 13, Gr 5

2шт.

5

433-820

CARRIAGE BOLT,Sq Nk, 1/2" - 13 x 1 1/4", Gr 5

1шт.

6

705541

WASHER,0.53" ID x 1.06" OD x 0.14" Thk

1/2", hardened, plain

2шт.

7

231-5348

FLANGE NUT,Flg, 1/2"-13

1/2"-13, hex. flange top lock, GR/G

1шт.

8

496-81010

WASHER

3/8", hardened, wide, plain

2шт.

9

700148797

MOUNTING PARTS

WA

1шт.

10

413-1056

BOLT,Hex, 5/8" - 11 x 3-1/2", Gr 5

1шт.

11

425-1010

NUT,5/8"-11, G5

3шт.

12

413-1048

BOLT,Hex, 5/8" - 11 x 3", Gr 5

2шт.

13

396-21066

WASHER,16.66mm ID x 33.33mm OD x 4.27mm Thk

5/8" bolt size

4шт.

14

700148804

MOUNTING PARTS

switch

1шт.

15

700148801

REINFORCEMENT

1шт.

16

6252563

SPACER

1шт.

17

413-664

BOLT,Hex, 3/8" - 16 x 4", Gr 5

3/8"-16 x 4", hex. cap screw

2шт.

18

700148792

MOUNTING PARTS

WA

1шт.

Выбрано товаров: 0