Запчасти Case IH RS561A (7-020) - SHIELD, LATCH AND SUPPORT ASSEMBLIES,LEFT (12) - MAIN FRAME

Схема запчастей Case IH RS561A - (7-020) - SHIELD, LATCH AND SUPPORT ASSEMBLIES,  LEFT (12) - MAIN FRAME
9
9
2
13
7
6
10
4
16
2
2
12
4
2
9
14
1
9
3
9
11
1
5
2
8
2
2
2
15
9
FIT
1:1
100%

Артикул

Название

Примечание

Количество

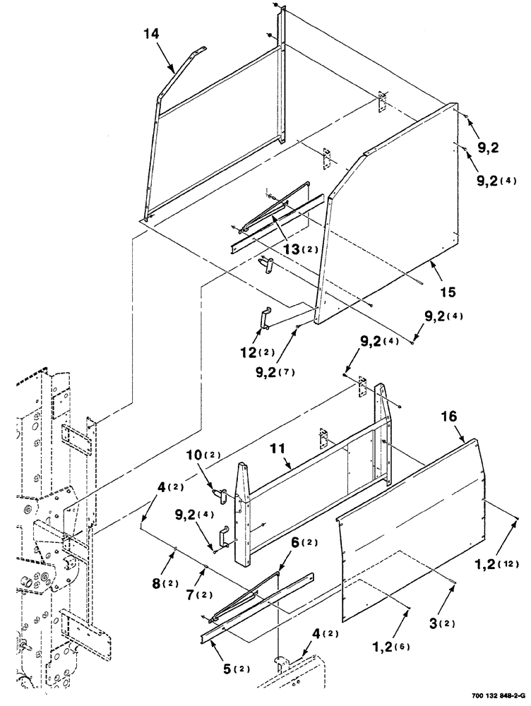
1

440-13112

SCREW,Cross Pan Hd, 5/16"-18 x 3/4"

5/16"-18 x 3/4", cross recess pan head machine, GR, 60 M

18шт.

2

231-5145

SERRATED NUT,Flg, USR, 5/16"-18

42шт.

3

439-5532

HEADED PIN,5/16" x 2"

clevis 5/16" x 2"

2шт.

4

432-812

COTTER PIN,3/4" OAL x 1/8" W

4шт.

5

700132503

CHANNEL

2шт.

6

700117067

SUPPORT

2шт.

7

754606

SPRING

compression

2шт.

8

495-61034

WASHER,0.34" ID x 0.88" OD x 0.06" Thk

5/16", wide, plain

2шт.

9

121-115

SERRATED BOLT,Hex, 5/16" - 18 x 3/4"

24шт.

10

700135648

PIN

WA

2шт.

11

700150815

FRAME

WA, L.H., shield, with reflector Decals

1шт.

12

700135650

HANDLE

2шт.

13

700117061

LATCH

2шт.

14

700132699

SUPPORT

WA, L.H.

1шт.

15

700132702

SHIELD

upper, L.H.

1шт.

16

700153717

SHIELD

lower, L.H., includes: Decals

1шт.

Выбрано товаров: 16