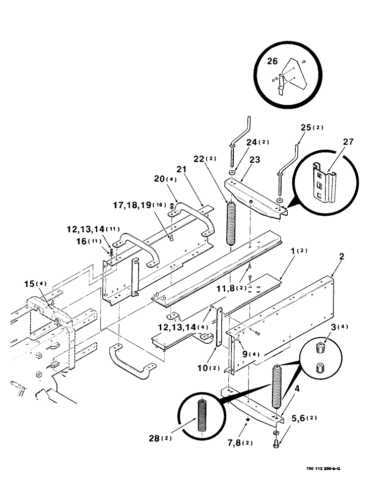
Запчасти Case IH 8520 (7-06) - BALE CHAMBER ASSEMBLY (12) - MAIN FRAME

Схема запчастей Case IH 8520 - (7-06) - BALE CHAMBER ASSEMBLY (12) - MAIN FRAME
12
9
5
24
7
22
26
28
12
6
21
11
13
10
16
8
3
14
4
2
8
1
13
19
25
27
17
23
18
14
20
15
FIT
1:1
100%

Артикул

Название

Примечание

Количество

1

700112522

RAIL

- chamber

2шт.

2

700112535

CHANNEL

- side, left

1шт.

3

6555684

PLUG

- spring

4шт.

700121906

PLUG

- spring

4шт.

4

6552558

CHANNEL

- lower

1шт.

5

7703572

BOLT,Hex 3/4" - 10 x 1 1/2", Gr 5

3/4-10 X 1-1/2 C

2шт.

6

705111

LOCK WASHER,3/4"

3/4"

2шт.

7

703249

BOLT,Hex, 3/8" - 16 x 1", Gr 5

3/8-16 x 1 C

2шт.

8

704247

NUT

3/8-16 HFSLN

4шт.

9

703132

SERRATED SCREW

5/16-18 X 3/4 HFSS

4шт.

10

837971

CASTING

RESISTOR - bar, hay

2шт.

11

7700065

CARRIAGE BOLT,Sq Nk, 3/8" - 16 x 3/4", Gr 5

3/8-16 X 3/4 RHSNB

2шт.

12

700047

BOLT

3/8-16 X 1 RHSNB

15шт.

13

705038

CONTROL VALVE

3/8"

15шт.

14

704023

NUT,3/8"-16, G5

3/8-16 H

15шт.

15

38-11216

LOCK PIN,3/16" x 1", Slotted

3/16 X 1 SLOTTED SPRING PIN

4шт.

16

705533

WASHER

3/8 HARDENED PLAIN WASHER

11шт.

17

68619

BOLT,Round, 1/2" - 13 x 1 1/4", Grade 5

1/2-13 X 1-1/4 RHSNB

16шт.

18

80679

LOCK WASHER,1/20.507 CST ZND

WASHER, LOCK, 1/2"

16шт.

19

704031

NUT

1/2-13 H

16шт.

20

700108401

SUPPORT

4шт.

21

700112534

CHANNEL

- side, right

1шт.

22

6554356

SPRING

ASSEMBLY - tension (Includes items 3 & 22)

2шт.

23

700112527

CHANNEL

WA (Includes item 27)

1шт.

24

700706024

WASHER

- nylon

2шт.

25

6851695

CRANK

WA

2шт.

26

407220R1

PRODUCT GRAPHIC

SMV EMBLEM KIT

1шт.

27

41277

SOCKET

BRACKET

1шт.

28

7758030

SPRING

- extension

2шт.

Выбрано товаров: 29