Запчасти Case IH 8540 (43) - WAGON HITCH KIT Decals & Attachments

Схема запчастей Case IH 8540 - (43) - WAGON HITCH KIT Decals & Attachments
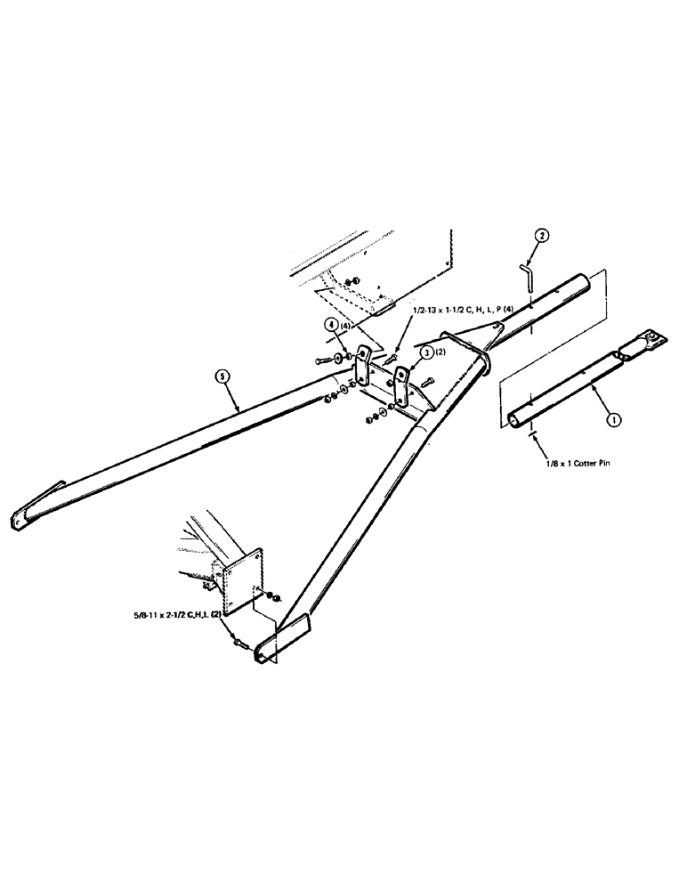
2
1
3
4
5
FIT
1:1
100%

Артикул

Название

Примечание

Количество

HK42357

HITCH KIT COMPLETE

1шт.

1

6856157

TUBE

hitch

1шт.

2

6557565

PIN

tongue

2шт.

3

6856280

STRAP

2шт.

4

1117860

BUSHING

1/2" long

4шт.

5

6856199

HITCH ASSY

HITCH ASSEMBLY

1шт.

701235

BOLT,1/2" - 13 x 1 1/2", Gr 5

1/2-13 x 1-1/2 hex cap screw grade 5

4шт.

7701659

BOLT,Hex, 5/8" - 11 x 2 1/2", Gr 5

5/8-11 x 2-1/2 hex cap screw grade 5

2шт.

Выбрано товаров: 8