Запчасти Case IH 8545 (6-34) - GRIPPER CUTTER ASSEMBLY (WIRE) (14) - BALE CHAMBER

Схема запчастей Case IH 8545 - (6-34) - GRIPPER CUTTER ASSEMBLY (WIRE) (14) - BALE CHAMBER
25
27
7
14
24
9
3
28
21
6
23
4
22
20
7
17
20
19
16
18
11
1
13
12
30
29
8
26
2
5
10
FIT
1:1
100%

Артикул

Название

Примечание

Количество

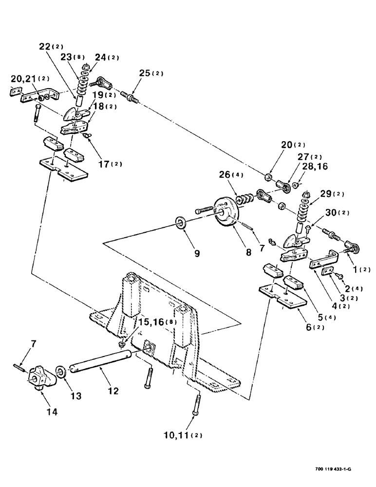
1

700709080

STEM

ROD END - stunned

2шт.

2

163-14

SCREW,Hex Wshr Hd, 1/4" - 20 x 1"

1/4-20 X 1 HWHMS

4шт.

3

700119445

REINFORCEMENT

- spring

2шт.

4

700119443

SPRING

- gripper

2шт.

5

700119448

HOLDER

- wire

4шт.

6

700119449

KNIFE

- shear

2шт.

7

38-11624

LOCK PIN,1/4" x 1 1/2", Slotted

PIN, 1/4" x 1 1/2", Slotted

2шт.

8

700119441

HUB

- shuttle bar

1шт.

9

52183

BUSHING

25/32 X 18 GA. NRMB

1шт.

10

413-632

BOLT,Hex, 3/8" - 16 x 2", Gr 5

2шт.

11

232-5316

FLANGE NUT,Flg, 3/8"-16

3/8-16 HFTLN GR/G

2шт.

12

700119450

SHAFT

- drive, gripper cutter

1шт.

13

7813157

CAM

1шт.

Ref #13 & #14: Ref 14 is the Cam-p/n7813157 and Ref 13 is the washer-p/n95-81182. The Ref numbers in the picture are backwards.

1шт.

14

95-81182

WASHER,0.81" ID x 1.25" OD x 0.07" Thk

3/4 X 14 GA. NRMB

1шт.

15

413-528

BOLT,Hex, 5/16" - 18 x 1-3/4", Gr 5

8шт.

16

232-5315

FLANGE NUT,Flg, 5/16"-18

5/16-18 HFTLN GR/G

9шт.

17

219-90

LUBE NIPPLE,45 Degree Elbow, 1/4" -28 NPTF

1/4-28 X 45 DEGREE ZERK

2шт.

18

700119447

GRIPPER

- wire

2шт.

19

700119444

GUIDE

- wire

2шт.

20

425-115

NUT,5/16"-24, G5

4шт.

21

492-11031

LOCK WASHER,5/16"

WASHER, LOCK, 5/16"

2шт.

22

700119440

BUSHING

BEARING - spacer

2шт.

23

700119439

WASHER

- washer

8шт.

24

496-11041

WASHER,13/32" x 13/16" x .065", HDN

3/8 HARDENED PLAIN WASHER

2шт.

25

700119442

LINK

- ball joint

2шт.

26

496-21034

WASHER,11/32" x 11/16" x 0.89", HDN

4шт.

27

700703692

ADJUSTMENT ROD

ROD END

2шт.

28

413-532

BOLT,Hex, 5/16" - 18 x 2", Gr 5

1шт.

29

7852593

SHIM,15mm ID x 21mm OD x 1mm Thk

9/16 X 20 GA. MB - special

2шт.

30

409-7412

BOLT,Hex Flg, 1/4" - 20 x 3/4", Spcl

1/4-20 X 3/4 HFSS

2шт.

Выбрано товаров: 0