Качественные детали и логистика
Оригинальные и аналоговые запчасти с доставкой по России, Казахстану и Беларуси
©2022 PartSell ООО "Система" ИНН 2463123282 ОГРН 1212400004838
Центральный офис: г. Красноярск, Академика Киренского, д.87, пом.4
Телефон: 8 (800) 777-65-74 Email: zakaz@partsell.ru
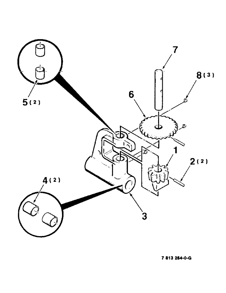
(6-38) - TWISTER PINION ASSEMBLY
№
Артикул
Название
Примечание
Количество
1
7813116
PINION
GEAR - pinion
1шт.
2
38-11624
LOCK PIN,1/4" x 1 1/2", Slotted
PIN, 1/4" x 1 1/2", Slotted
2шт.
3
7813124
FRAME
ASSEMBLY - pinion (Includes Items 4 and 5)
4
7852528
BRONZE BUSHING
BUSHING - bronze
5
52126
BUSHING - oilite
6
851923
SPROCKET ASSY.
SPROCKET - 25 tooth
7
7813249
SHAFT
- pinion
8
219-93
LUBE NIPPLE,90 Degree Elbow, 1/4" - 28 NPTF
3шт.
Выбрано товаров: 0